EasyManua.ls Logo

Stihl FT 250 - When engine begins to fire; As soon as the engine runs

Stihl FT 250
40 pages
To Next Page IconTo Next Page
To Next Page IconTo Next Page
To Previous Page IconTo Previous Page
To Previous Page IconTo Previous Page
Loading...
FT 250
English
21
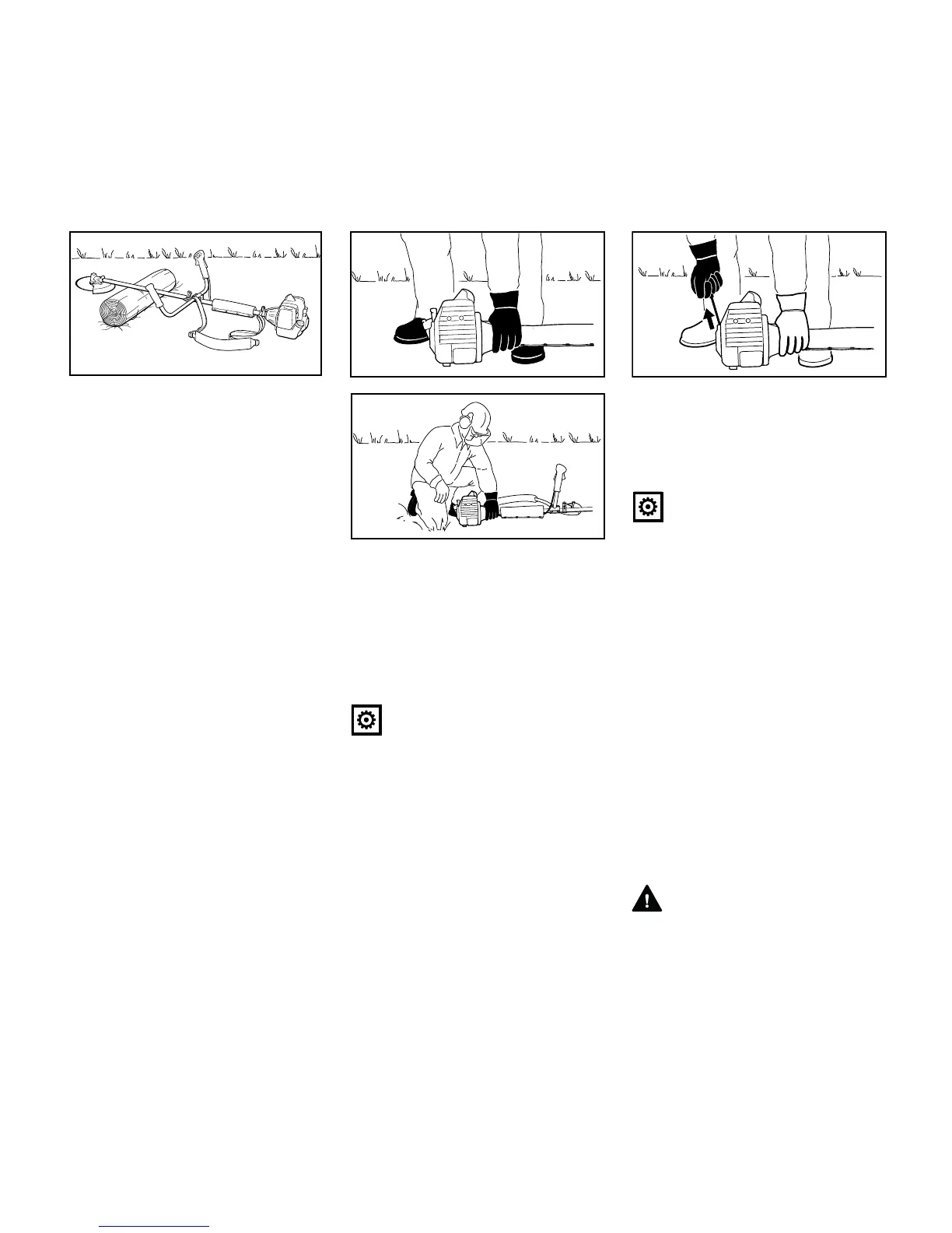
N Place the power tool on the ground
so that it rests on the machine
support:
N Rest the gearbox end of the drive
tube on a raised support, e.g.
trestle, tea bush or something
similar, to ensure that the cutting
attachment can rotate freely when
the engine starts.
To reduce the risk of accidents, check
that the cutting attachment is not
touching the ground of any other
obstacles.
N Make sure you have a firm footing,
either standing, stooping or
kneeling.
N Hold the unit firmly on the ground
with your left hand and press down
– do not touch the throttle trigger or
lockout lever – your thumb should
be under the fan housing.
NOTICE
Do not stand or kneel on the drive tube.
N Hold the starter grip with your right
hand.
N Pull the starter grip slowly until you
feel it engage and then give it a brisk
strong pull.
NOTICE
Do not pull out the starter rope all the
way – it might otherwise break.
N Do not let the starter grip snap back.
Guide it slowly back into the housing
so that the starter rope can rewind
properly.
N Continue cranking.
When engine begins to fire
N Turn the choke knob to e.
N Continue cranking until the engine
runs.
As soon as the engine runs
N Blip the throttle trigger immediately.
The slide control moves to the
normal run position ?F – and the
engine settles down to idle speed.
WARNING
Make sure the carburetor is correctly
adjusted. The cutting attachment must
not rotate when the engine is idling.
262BA067 KN
262BA039 KN
262BA058 KN
262BA041 KN

Related product manuals