EasyManua.ls Logo

Stihl RMA 2 RT - Conectar el Cargador a la Red Eléctrica; Cargar el Acumulador; LED del Acumulador

Stihl RMA 2 RT
440 pages
Go to English
To Next Page IconTo Next Page
To Next Page IconTo Next Page
To Previous Page IconTo Previous Page
To Previous Page IconTo Previous Page
Loading...
0478 131 9939 A - ES
140
Sacar el acumulador:
Presione la palanca de bloqueo (1)
hacia el acumulador (2) y saque este
hacia arriba.
Colocar el acumulador:
Coloque el acumulador (2) hasta el
tope en su compartimento aplicando
una ligera presión, como se muestra en
la ilustración; se oirá un clic.
8.3 Conectar el cargador a la red
eléctrica
Enchufe el conector de red (1) a
la caja del enchufe (2).
Tras conectar el cargador a la
alimentación, tiene lugar un autotest.
En el curso de ese proceso, se
enciende el LED (3) del cargador
durante aprox. 1 segundo en verde,
después en rojo y después se apaga
(Ö 8.6).
8.4 Cargar el acumulador
El tiempo de carga depende de
diversos factores que ejercen su
influencia, como p. ej., la temperatura del
acumulador o la temperatura ambiente. El
tiempo de carga real puede diferir del
tiempo de carga indicado. El tiempo de
carga se indica en
www.stihl.com/charging-times.
Saque el acumulador de su
compartimento. (Ö 8.2)
Conecte el cargador a la red eléctrica.
(Ö 8.3)
Coloque el acumulador (1) en las guías
del cargador (2) y presiónelo hasta que
haga tope.
El LED del cargador (3) se enciende en
verde.
Los LED del acumulador (4) se
encienden en verde e indican el estado
de carga.
Si el LED del cargador (3) y los LED del
acumulador (4) ya no están
encendidos, extraiga el enchufe de la
red.
El acumulador está completamente
cargado.
Saque el acumulador del cargador y
colóquelo en el compartimento del
acumulador. (Ö 8.2)
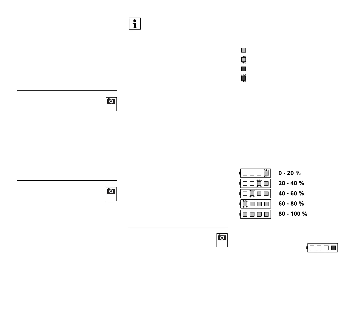
8.5 LED del acumulador
Indicar estado de carga:
Pulsar el botón (1). Los LED se
encienden aprox. 5 segundos en verde
e indican el estado de carga.
Cargar el acumulador si el LED
derecho parpadea en verde. (Ö 8.4)
Indicadores LED:
Los diodos luminosos se pueden
encender o pueden parpadear en verde o
rojo.
El LED se enciende en verde.
El LED parpadea en verde.
El LED se enciende en rojo.
El LED parpadea en rojo.
Los LED verde indican un funcionamiento
normal, los LED rojos indican una
anomalía.
Durante la carga:
Los LED indican el progreso de carga
mediante encendido y parpadeo.
Durante la carga, la capacidad que se está
cargando se indica mediante un LED que
parpadea en verde.
Una vez finalizado el proceso de carga, los
LED se apagan automáticamente.
Anomalías
Un LED se enciende en rojo
Durante la carga:
El acumulador está
demasiado caliente o
demasiado frío para poder iniciar el
proceso de carga. Tras enfriarse o
calentarse el acumulador, el proceso de
carga se inicia automáticamente.
5
6
Una vez colocado el acumulador en
el cargador, el proceso de carga se
inicia automáticamente. Cuando el
acumulador está cargado por
completo, el cargador se
desconecta automáticamente.
Durante la carga se calienta tanto
el acumulador como el cargador.
7

Table of Contents

Related product manuals