EasyManua.ls Logo

Stone 1285PM - Gas Engine Drive Train 1050 PM;1265 PM

Default Icon
69 pages
Print Icon
To Next Page IconTo Next Page
To Next Page IconTo Next Page
To Previous Page IconTo Previous Page
To Previous Page IconTo Previous Page
Loading...
- 46 -
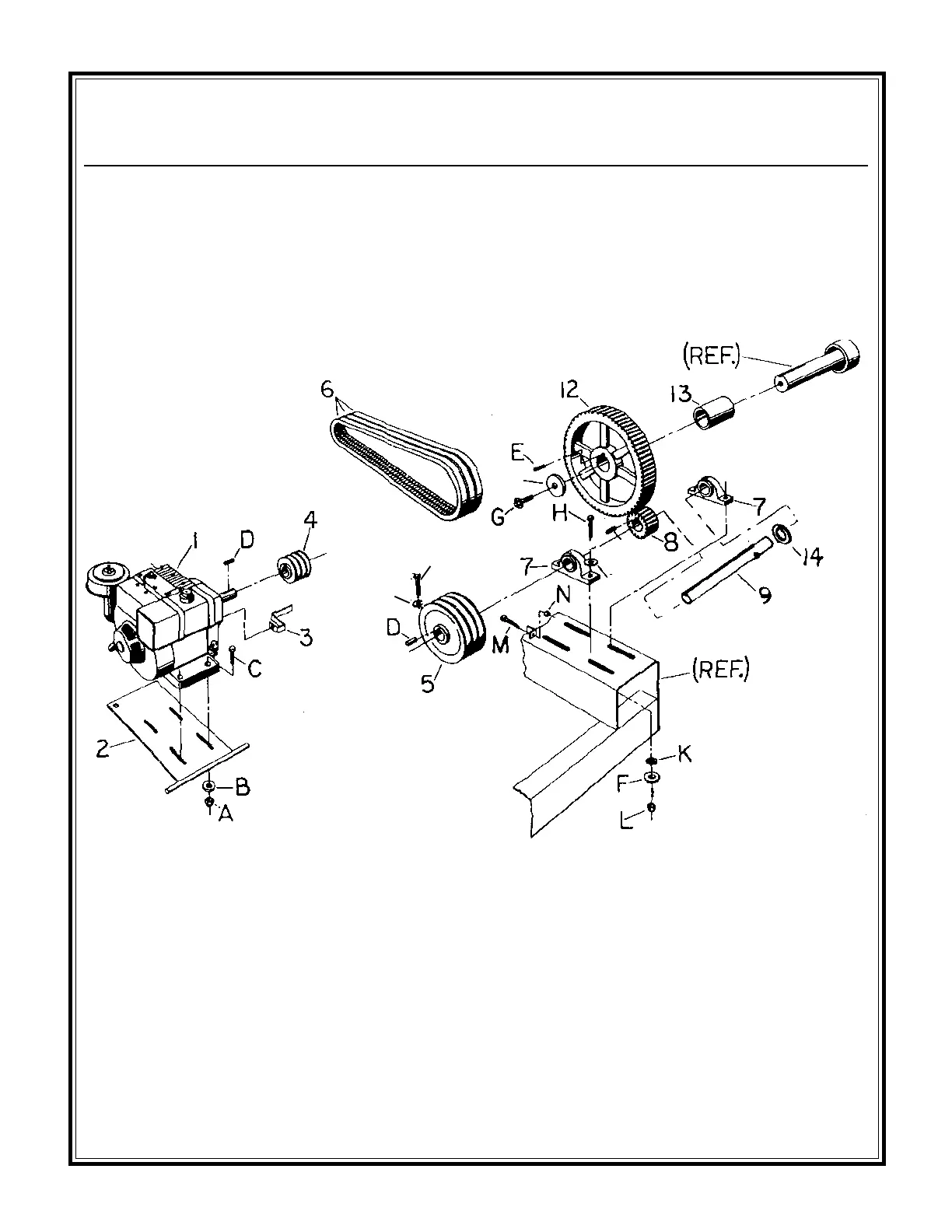
Parts List
1050PM/1265PM Gas
Engine Drive Train
N
P
O
1265_1b_gas.tif
Q
F

Related product manuals