EasyManua.ls Logo

Stone 1285PM - Clutch Assemblies

Default Icon
69 pages
Print Icon
To Next Page IconTo Next Page
To Next Page IconTo Next Page
To Previous Page IconTo Previous Page
To Previous Page IconTo Previous Page
Loading...
- 50 -
Parts List
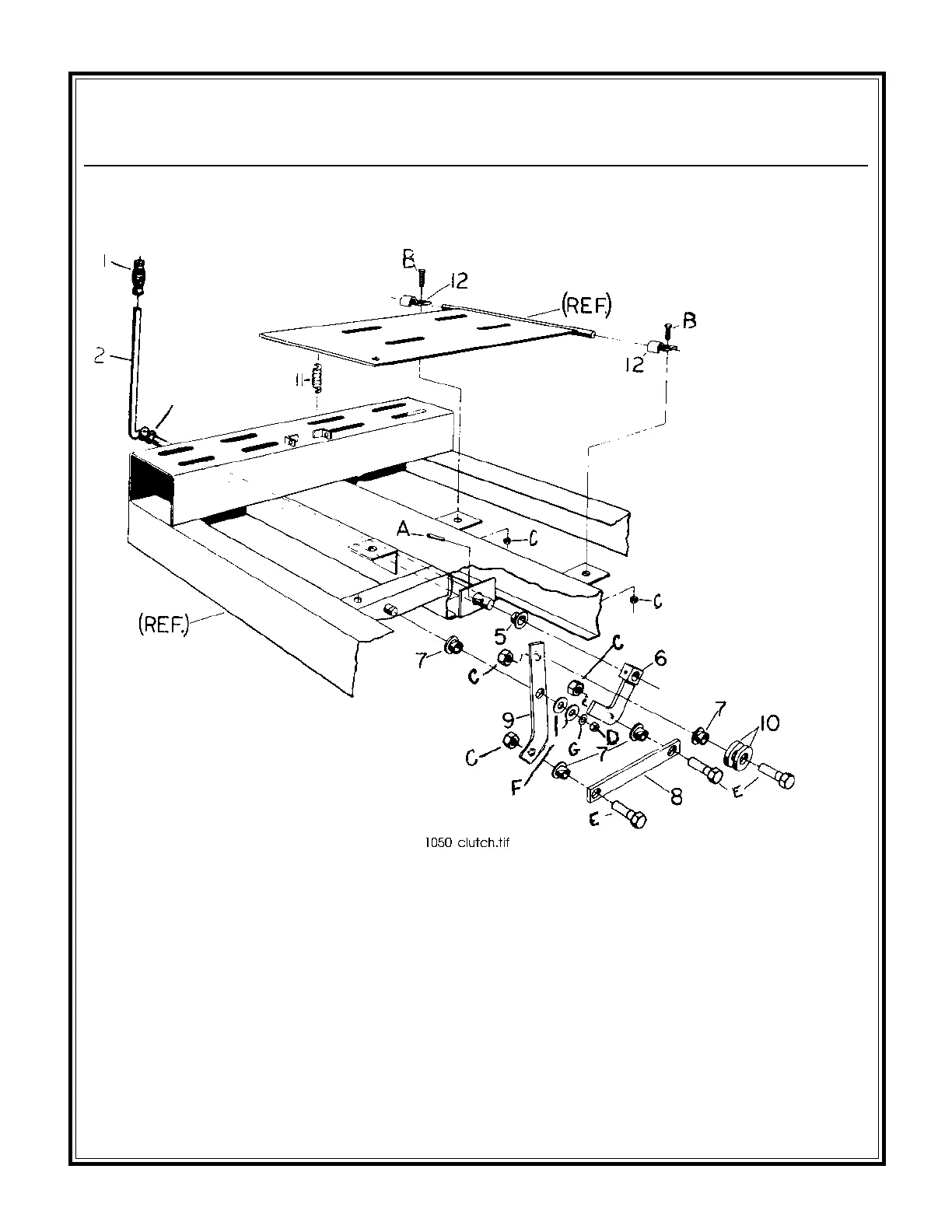
1050PM Clutch Assembly

Related product manuals