EasyManua.ls Logo

Strapack RQ-8Y - Electrical Wiring (A Spec.); A Spec. Connector Pinouts (CN1-CN3); A Spec. Component Wiring (CN4-CN6)

Strapack RQ-8Y
28 pages
Print Icon
To Next Page IconTo Next Page
To Next Page IconTo Next Page
To Previous Page IconTo Previous Page
To Previous Page IconTo Previous Page
Loading...
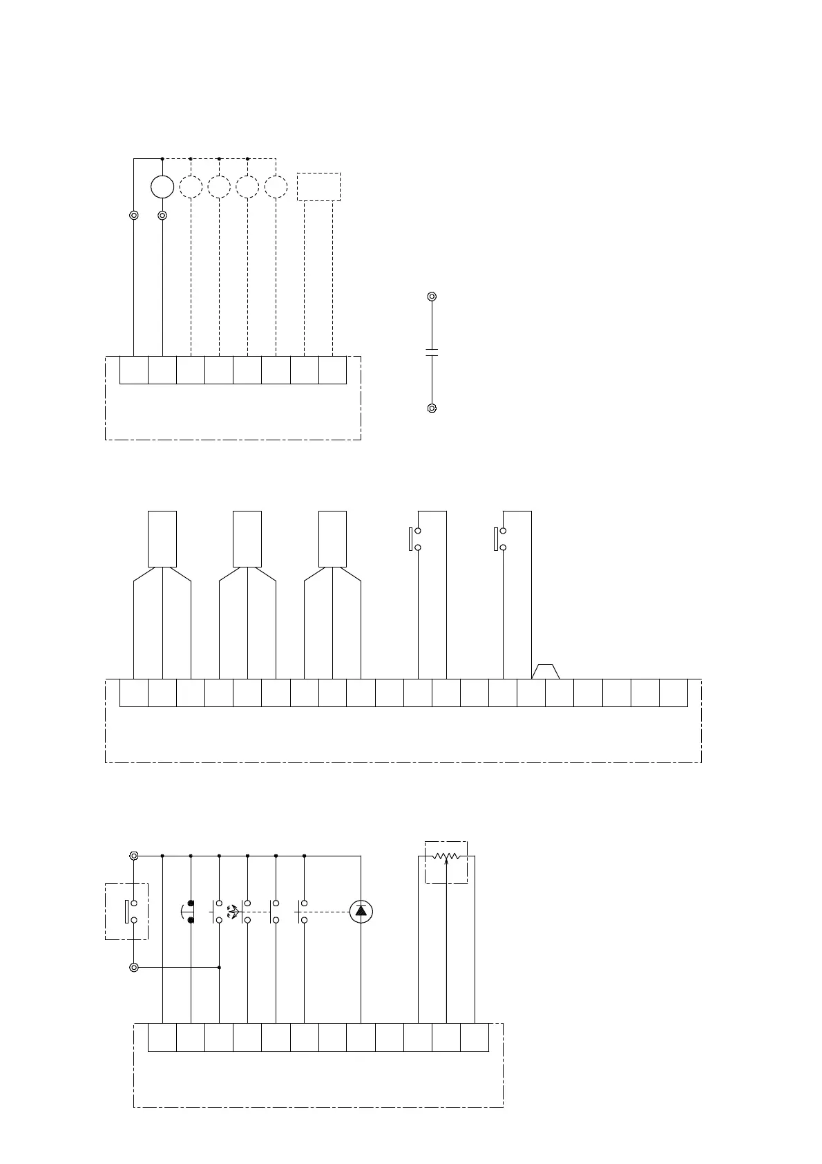
ELECTRICAL WIRING 1φ 110,120V (A Spec.) 1/2
1
2
11
3
12
13
7
6
17
9
14
15
5
4
19
20
16
8
18
10
4
1
2
6
3
5
7
8
LS1
LS2
LS5
LS4
LS3
CN3
(DLI-8P )
CN2
(DLI-20P )
TIMING
HOME
POSITION
RE
VERS
E
PULS E
POO L
OUT OF STRAP
P1(+24V )
21(IN LS1 )
N(-)
P1(+24V )
22(IN LS2 )
N(-)
P1(+24V )
25(IN LS5 )
N(-)
24(IN LS4 )
N(-)
23(IN LS3 )
N(-)
JP
P(+24V )
31
32(ERROR )
35(OUT OF STRAP )
33(SPARE 1 )
34(SPARE 2 )
36(COUNTER )
N(-)
R
R
R
R
DC24 V
DC24 V
DC24 V
DC24 V
DC24 V
CH7EC-N
1
2
BN
BU
BK
OPTIO
N
BN
BU
BK
BN
BU
BK
(COMPLETE STRAPPING)
ROM:RQ8-N (1 φ,100V)
1
2
3
4
5
6
7
9
10
8
11
12
BSS
BS1
CS2
PB
1
2
3
PL
1W
2R
3 BK
4Y
5G
6 ORANG
E
9 BU
11 BN
12 GREY
STO P
STAR T
REVERSE
FORWARD
READY
POWER
TENSION
VR
CN1
(DLI-12P )
FSW
FOOT SWITCH
OPTION
13
8 PIN
K
251
5
LR6
COMPLETE STRAPPIN
G
LR6
+-
P
31
-18-

Related product manuals