EasyManua.ls Logo

Sunfar E500-2S0022(B) - Page 73

Default Icon
103 pages
Print Icon
To Next Page IconTo Next Page
To Next Page IconTo Next Page
To Previous Page IconTo Previous Page
To Previous Page IconTo Previous Page
Loading...
Functional Details 63
E500 Series Universal Low-Power Inverter
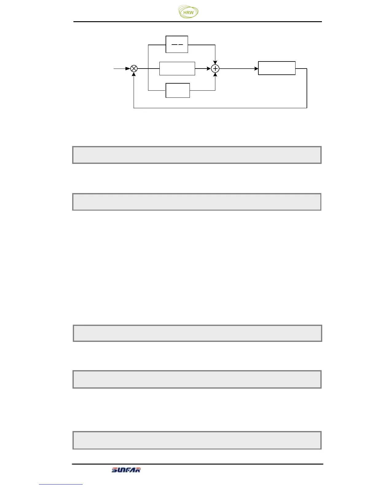
Figure 6-18 PID Function Sketch
0: PID function disabled 1: PID function enabled
It is used to select the setting channel of the PID target value.
0: Digital setting by [F5.02] 1: frequency input channel setting
PID’s set target value is a relative value. The setting 100% is corresponding to
100% of feedback system of the controlled system.
PID feedback channel is fixed as AI input, and its upper limit (100%) and lower
limit (0%) are corresponding to AI input upper limit voltage [F1.00] and AI
input lower limit voltage [F1.01].
The base value of this parameter is the system’s maximum feedback signal.
0: Feed forward function disabled 1: Feed forward function enabled
System’s response speed at start can be increasd.
????
11
Ti S
Td*S+1
+
-
???
???
P
F5.00 PID function selection Setting range: 0 ~ 1
F5.01 PID setting channel Setting range: 0 ~ 1
F5.02 PID digital setting Setting range: 0.0~100.0%
F5.04 Reserve
Contro
l
l
e
d
s
y
ste
m
Target value
Feedback value
F5.03 PID feed forward enabling Setting range: 0000~0001H
HRW Limited
admin@hrw.hk
www.hrw.hk

Related product manuals