EasyManua.ls Logo

Sym MAXSYM 400i - Page 86

Sym MAXSYM 400i
274 pages
Print Icon
To Next Page IconTo Next Page
To Next Page IconTo Next Page
To Previous Page IconTo Previous Page
To Previous Page IconTo Previous Page
Loading...
4. Fuel Injection System
4-41
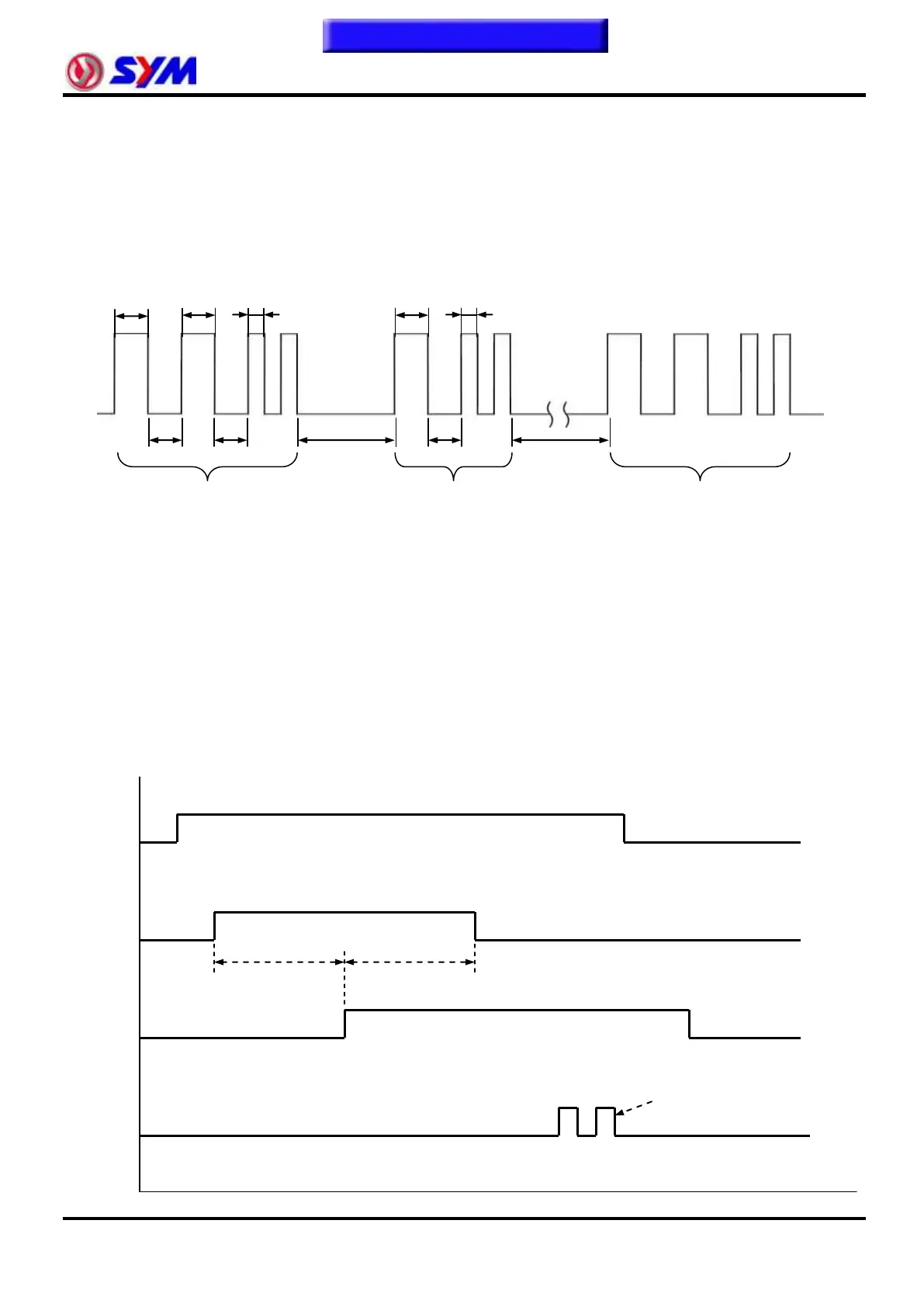
Check Light Fault Codes Differentiation
Check light flashing mode
If problem without diagnosis tool to be detected, it can be cross-access the test switch coupler, the
motorcycle from the CHK lights flashing signal interpretation, and then the basis for the diagnosis of
dynamic information tables on the priorities of light, and prompts you to the motorcycle to the emergence
of some warning, or FLASH CODE is to determine what kind of fault, and exclusion.
Fault Code manual removal procedure:
When there is without diagnosis tool, can be manually cleared Fault Code, the implementation of the
following steps:
1. Main switch OFF
2. Cross-access the test switch for interconnection access, and without opening up (cross-access
movement must indeed).
3. Full throttle and do not open up.
4. Main switch ON
5. Described above, the No. 3 with the No. 4 movements continued liberalization of 5 seconds later, about
5 seconds after inspections at carnivals "flash twice" to complete the removal of fault code.
6. Then remove the cross-wiring.
Test switch
Throtrtle
Main
switch
Check
light
Cross-access
Not to cross-access
Full throttle
Full throttle closed
OF
F
OF
F
ON
Not lit
Lighting
At least 5 seconds
2nd inspection lights flash
1
1
0.5
1
0.5
1
3
1
6
Unit: second
Fault code 22
Continuous repeated
Fault code 12
1
To this chapter contents
Lighting
Not lit

Table of Contents

Related product manuals