EasyManua.ls Logo

Tanzer 22 - Page 22

Tanzer 22
49 pages
Print Icon
To Next Page IconTo Next Page
To Next Page IconTo Next Page
To Previous Page IconTo Previous Page
To Previous Page IconTo Previous Page
Loading...


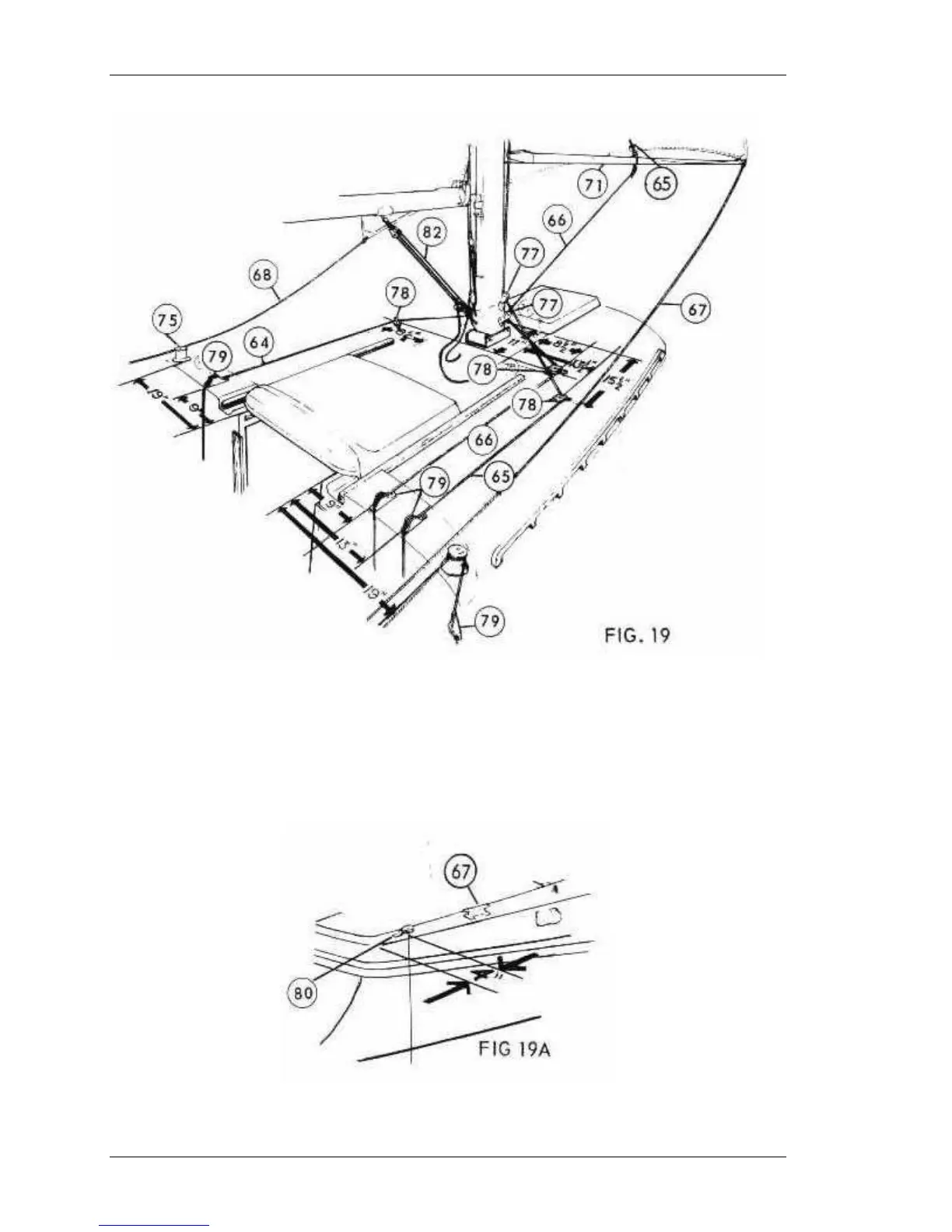
The spinnaker halyard block (69) must be secured to the crane (70) provided on
the foreside of the masthead fitting, (see Figure 2a) and the spinnaker halyard
(64) and the topping lift (65) should be rove through the respective blocks,
before stepping the most. The shackle securing the halyard block should be
fastened very tightly with pliers. It is also important that this block be placed so
that the sheave is in line with the centreline of the boat as shown in Figure 2a.