EasyManua.ls Logo

Tanzer 22 - Hoisting Sail; Mainsail; Jib

Tanzer 22
49 pages
Print Icon
To Next Page IconTo Next Page
To Next Page IconTo Next Page
To Previous Page IconTo Previous Page
To Previous Page IconTo Previous Page
Loading...


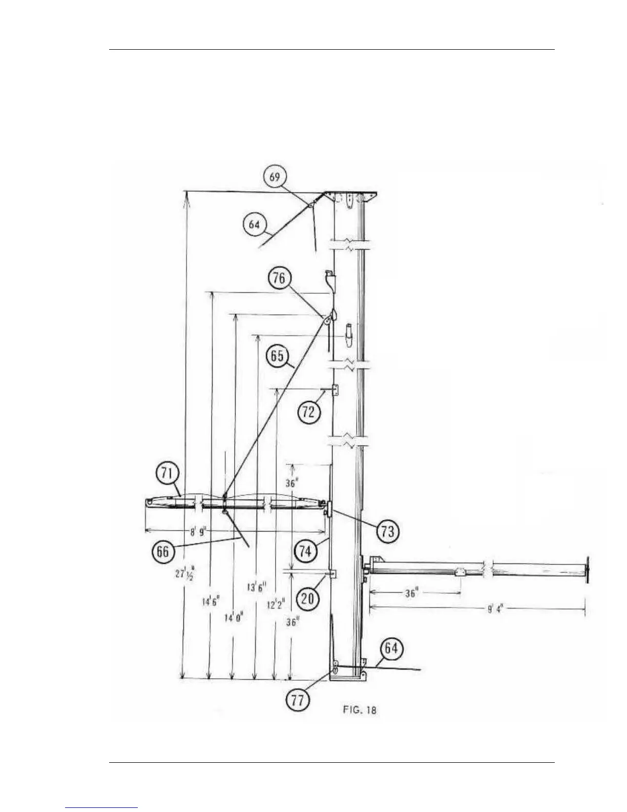
SPINNAKER GEAR
If your boat is rigged for a spinnaker, the lines comprising the spinnaker halyard
(64), topping lift (65) fore guy (66) , after guy (67) , and sheet (68) should be rove
through the fittings provided as shown in Figs. 18, 19 & 19A.