EasyManua.ls Logo

TCM FB20-8 - Procedure for Adding or Subtracting Shims

TCM FB20-8
259 pages
Print Icon
To Next Page IconTo Next Page
To Next Page IconTo Next Page
To Previous Page IconTo Previous Page
To Previous Page IconTo Previous Page
Loading...
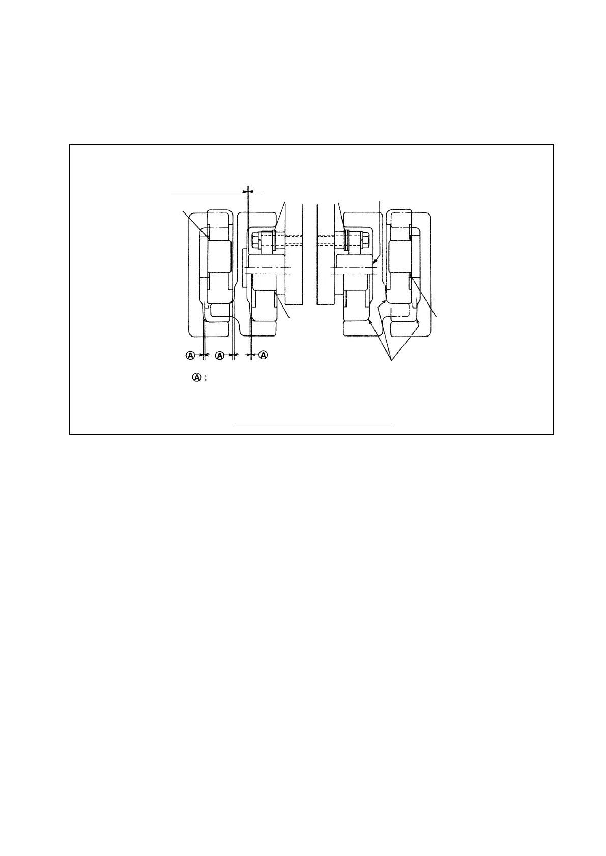
8.2.5 PROCEDURE FOR ADDING OR SUBTRACTING SHIMS
Move the inner channel and carriage to one side of the outer channel. Measure the clearance
between the end roller at the opposite side and each channel.
Clearance between roller and channel: 0 to 0.5 mm [0 to 0.197 in.]
Fig. 8.18
0 to 0.5 mm at upper side
SHIM
Make contact
with one side.
0 to 0.5 mm [0 to 0.197 in.]
Note: Apply grease to the end roller contacting surface of each channel.
SHIM
SHIM
SHIM
SHIM
Make contact
with one side.
Procedure for Adding or Subtracting Shims

Table of Contents

Related product manuals