EasyManua.ls Logo

TDK-Lambda Genesys GEN30-50 - Page 28

TDK-Lambda Genesys GEN30-50
82 pages
Print Icon
To Next Page IconTo Next Page
To Next Page IconTo Next Page
To Previous Page IconTo Previous Page
To Previous Page IconTo Previous Page
Loading...
WARNING
Hazardous voltages exist at the outputs and the load connections. To protect personnel against
accidental contact with hazardous voltages, ensure that the load and its connections have no
accessible live parts. Ensure that the load wiring insulation rating is greater than or equal to the
maximum output voltage of the power supply.
80V to 600V Models
Output Load Wires No Conductor Pretreatment: Phoenix Contact clamping parts are designed
so that all kinds of copper conductors can be clamped without pretreatment.
It is forbidden to solder the conductors. The solder tin yields and fractures under high pressure. The
result is increased contact resistance and an excessive temperature rise. In addition, corrosion
caused by pickling or fluxes has been observed on soldered conductor ends. Notch fractures at the
transition point from the rigid to the flexible conductor area are also possible.
CAUTION
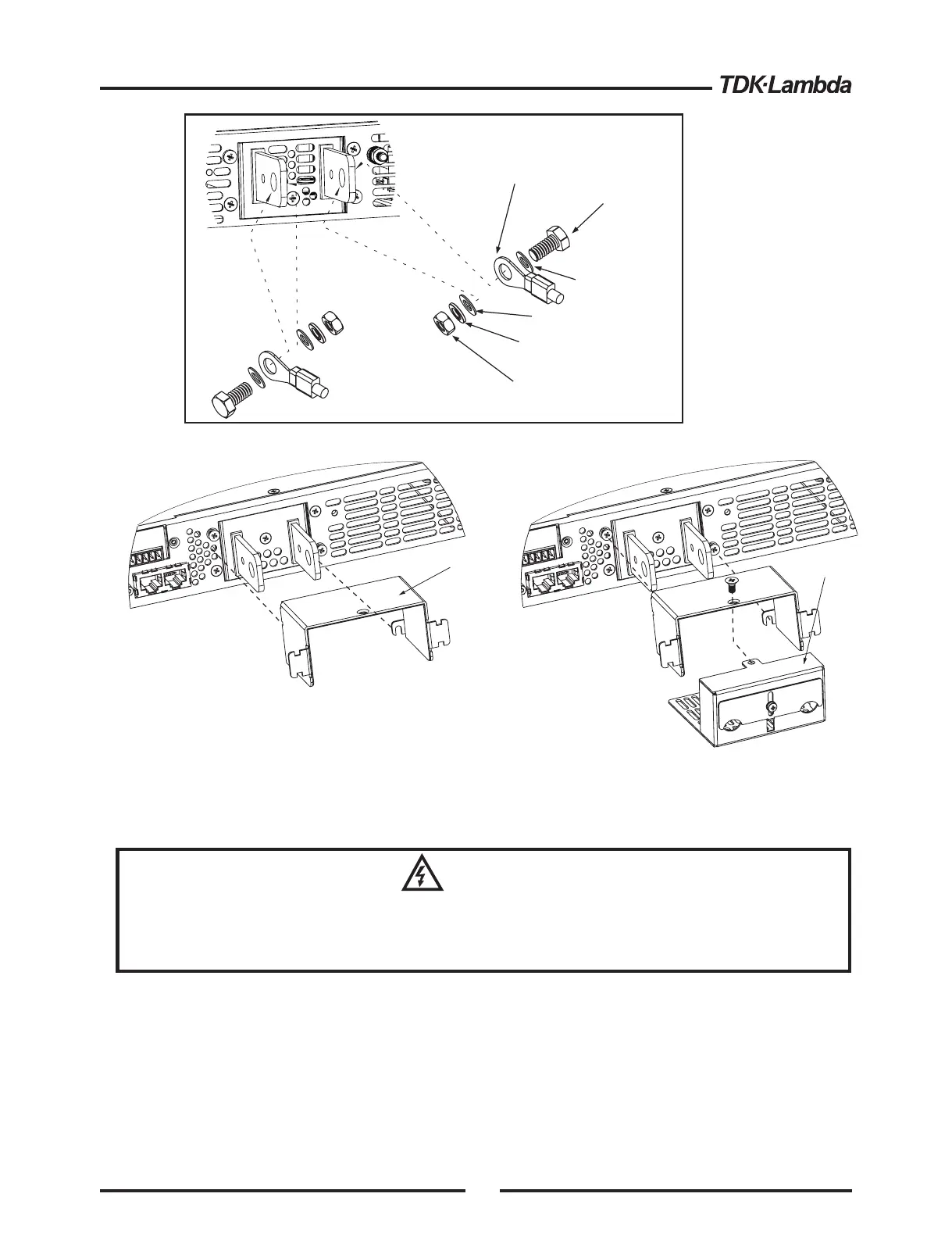
Fig. 3-5: Load wires connection , 6V to 60V models.
M8x15 screw (2 places)
Hex Nut (2 places)
Flat washer (2 places)
Spring washer (2 places)
Wire terminal lug (2 places)
Flat washer
(2 places)
Screws tightening torque: 104-118 Lb-inch.
Fig. 3-6 Bus-bars
cover 6V to 50V
Fig. 3-7 Bus-bars
enclosure 60V
(Refer to Fig.3-8, 3-9 for installation instructions.)
Fix the bus-bars enclosure
top cover using the screws
marked “A”. Tighten the
screws after fixing.
Enclosure top cover
Enclosure
bottom cover
Fix the bus-bars enclosure top
cover using the screws marked
“A”. Loosen screw “B” to release
the shutter. Insert load wires
through enclosure bottom cover
opening and connect load wires.
Assemble the enclosure bottom
cover by using screw C. Tighten
screws “B” after sliding down the
shutter.
A
A
A
B
A
C
21

Table of Contents

Related product manuals