EasyManua.ls Logo

TDK-Lambda Genesys GEN40-38 - Page 7

TDK-Lambda Genesys GEN40-38
82 pages
Print Icon
To Next Page IconTo Next Page
To Next Page IconTo Next Page
To Previous Page IconTo Previous Page
To Previous Page IconTo Previous Page
Loading...
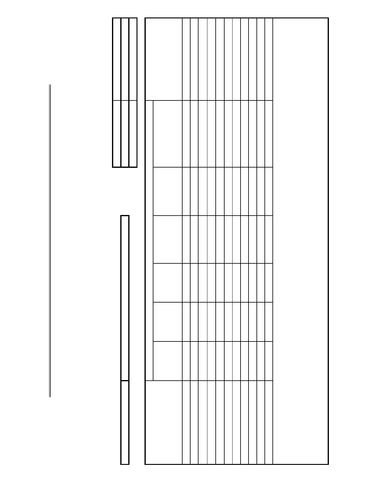
This information sheet was prepared based on People's Republic of China "Management Methods for Controlling Pollution Caused by Electronic Information Products Regulation"and
"SJ/T 11364—2006 Marking for Control of Pollution Caused by Electronic Information Products".
As People's Republic of China "Management Methods for Controlling Pollution Caused by Electronic Information Products Regulation"is a different legislation from EU RoHS Directive
2002/95/EC, inquiries concerning EU RoHS Directive 2002/95/EC information should be done separately.
The date of manufacture
Part Name
GENESYS, GEN1500W & GEN750W POWER SUPPLY SERIES Product Weight
GEN1500W: 8.5Kg
Product Weight
GEN750W: 7Kg
Lead (Pb) Mercury (Hg) Cadmium (Cd) Hexavalent Chromium
(Cr6+)
Polybrominated
Biphenyls PBB
Polybrominated Diphenyl
EthersPBDE
0.1wt% 0.1wt% 0.01wt% 0.1wt% 0.1wt% 0.1wt%
Case
O O O O O O
Plastic panel
O O O O O O
PCB's assembly X O O O O O
Inner metal parts O O O O O O
Inner cables O O O O O O
Accessories O O O O O O Provided in the package
: Indicates that the concentration values of toxic and hazardous substances in all "homogeneous materials" of respective parts and materials does not exceed the concentration limits
regulated by "SJ/T 11363-2006 Requirements for Concentration Limits for Certain Hazardous Substances in Electronic Information Products".
× : Indicates that the concentration value of a toxic or hazardous substance included in a "homogeneous part" of a respective part ot material exceeds the concentration limit regulated by
"SJ/T 11363-2006 Requirements for Concentration Limits for Certain Hazardous Substances in Electronic Information Products".
Information Concerning Inclusion of Toxic and Hazardous Substances
NotesConcentration Values of Toxic and Hazardous Substances/Elements (wt%)
Subpart Name
This information sheet was prepared based on People's Republic of China "Management Methods for Controlling Pollution Caused by Electronic Information Products Regulation"and
"SJ/T 11364—2006 Marking for Control of Pollution Caused by Electronic Information Products".
As People's Republic of China "Management Methods for Controlling Pollution Caused by Electronic Information Products Regulation"is a different legislation from EU RoHS Directive
2002/95/EC, inquiries concerning EU RoHS Directive 2002/95/EC information should be done separately.
The date of manufacture
Part Name
GENESYS, GEN1500W & GEN750W POWER SUPPLY SERIES Product Weight
GEN1500W: 8.5Kg
Product Weight
GEN750W: 7Kg
Lead (Pb) Mercury (Hg) Cadmium (Cd) Hexavalent Chromium
(Cr6+)
Polybrominated
Biphenyls PBB
Polybrominated Diphenyl
EthersPBDE
0.1wt% 0.1wt% 0.01wt% 0.1wt% 0.1wt% 0.1wt%
Case
O O O O O O
Plastic panel
O O O O O O
PCB's assembly X O O O O O
Inner metal parts O O O O O O
Inner cables O O O O O O
Accessories O O O O O O Provided in the package
: Indicates that the concentration values of toxic and hazardous substances in all "homogeneous materials" of respective parts and materials does not exceed the concentration limits
regulated by "SJ/T 11363-2006 Requirements for Concentration Limits for Certain Hazardous Substances in Electronic Information Products".
× : Indicates that the concentration value of a toxic or hazardous substance included in a "homogeneous part" of a respective part ot material exceeds the concentration limit regulated by
"SJ/T 11363-2006 Requirements for Concentration Limits for Certain Hazardous Substances in Electronic Information Products".
Information Concerning Inclusion of Toxic and Hazardous Substances
NotesConcentration Values of Toxic and Hazardous Substances/Elements (wt%)
Subpart Name

Table of Contents

Related product manuals