EasyManua.ls Logo

TDK-Lambda ZERO-UP 200W - Page 40

TDK-Lambda ZERO-UP 200W
58 pages
Print Icon
To Next Page IconTo Next Page
To Next Page IconTo Next Page
To Previous Page IconTo Previous Page
To Previous Page IconTo Previous Page
Loading...
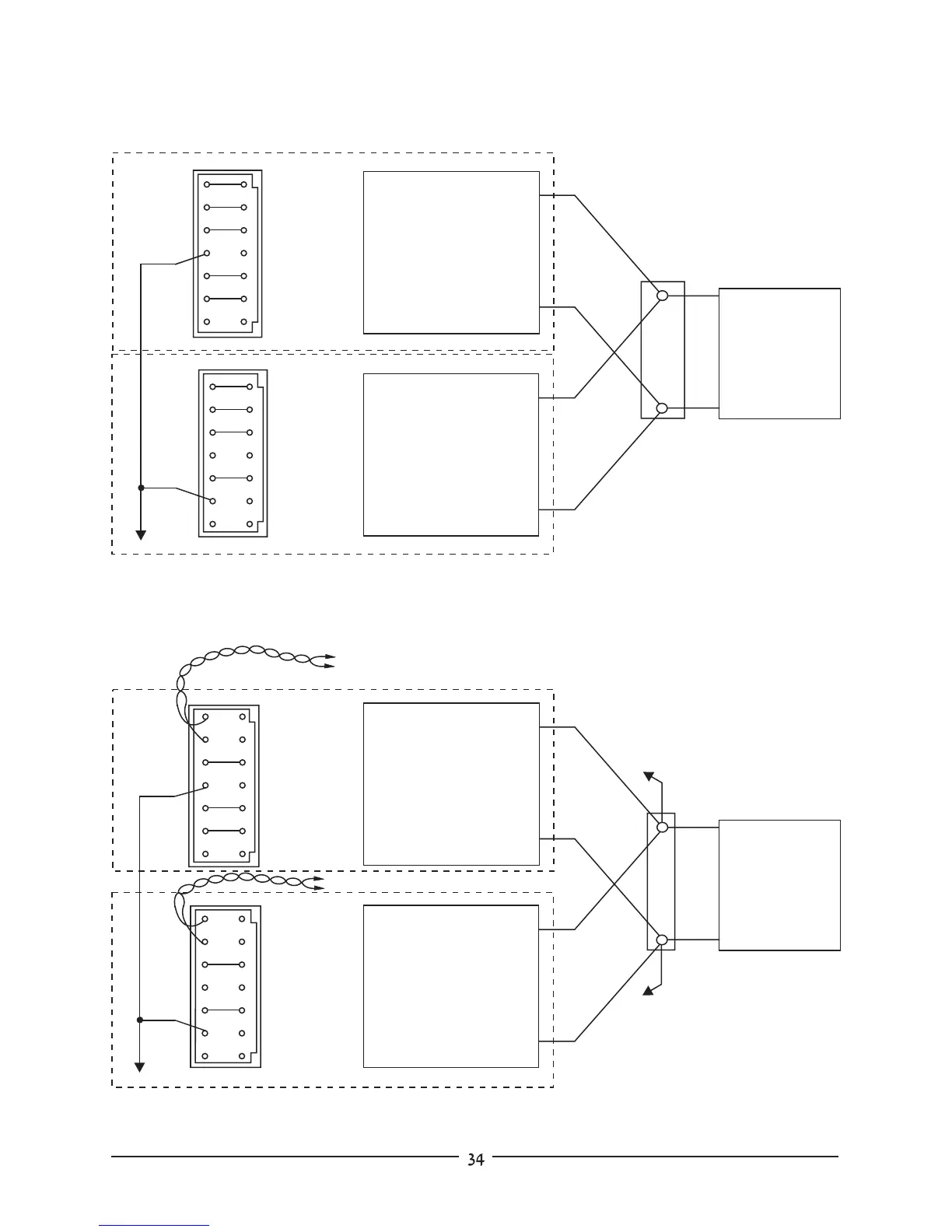
Fig. 4-10: Local sensing with
distribution terminals.
(ZUP rear panel view)
Fig. 4-11: Auto parallel with
remote sensing
(ZUP rear panel view)
- V
- V
- V
- V
+V
+V
+V
+V
+S
- S
LOAD
LOAD
MASTER
POWER
SUPPLY
MASTER
POWER
SUPPLY
SLAVE
POWER
SUPPLY
SLAVE
POWER
SUPPLY
+
+
_
_
- LS
- LS
- S
- S
+LS
+LS
+S
+S
On/Off
On/Off
COM
COM
P
P
VRFV
VRFV
VCVP
VCVP
VRFI
VRFI
VCCP
VCCP
RCVP
RCVP
To other slaves
RCCP
RCCP
- S
+S
-S
+S
- LS
- LS
- S
- S
+LS
+LS
+S
+S
On/Off
On/Off
COM
COM
P
P
VRFV
VRFV
VCVP
VCVP
VRFI
VRFI
VCCP
VCCP
RCVP
RCVP
To other slaves
RCCP
RCCP
Output Good
Output Good
Output Good
Output Good
2
2
2
2
14
14
14
14
1
1
1
1
13
13
13
13

Table of Contents

Related product manuals