EasyManua.ls Logo

TECNA 3401 - Page 14

Default Icon
32 pages
Print Icon
To Next Page IconTo Next Page
To Next Page IconTo Next Page
To Previous Page IconTo Previous Page
To Previous Page IconTo Previous Page
Loading...
tecn@ SALDATRICI ART. 3401 - 3406 - 3407 - 3408 WELDERS ITEM 3401 - 3406 - 3407 - 3408
Documento numero / Document number: MAN1063 Edizione / Edition: Settembre / September 1997 PAG. 14 / 32
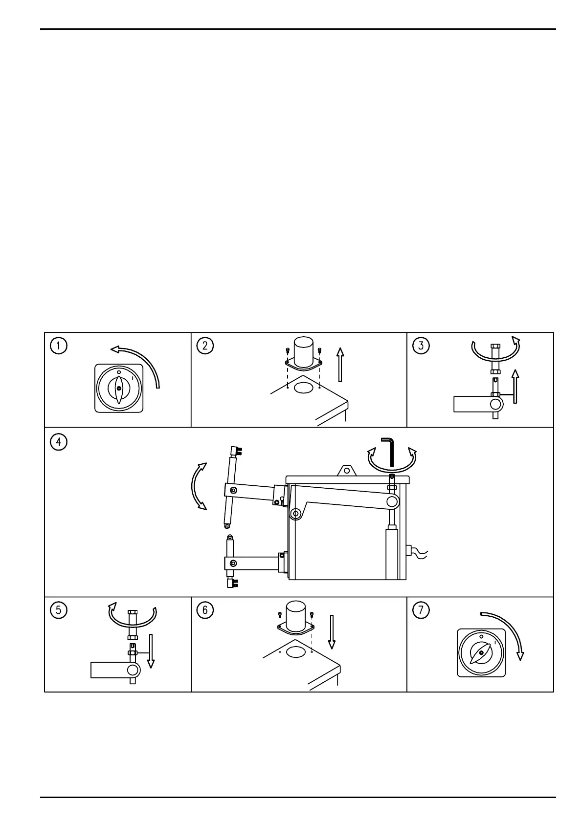
Regolazione della corsa di lavoro
Regolare la corsa di lavoro al valore minore possibile per
ottenere:
Maggiore produttività.
Maggiore precisione di lavoro.
Ridotte possibilità di infortunio.
La regolazione della corsa di lavoro si effettua eseguendo le
seguenti operazioni:
1) Spegnere la saldatrice.
2) Rimuovere la protezione di sicurezza 39360.
3) Allentare il dado 10262 con la chiave a tubo fornita in
dotazione.
4) Regolare la corsa di lavoro ruotando la vite in testa all’asta
con una chiave allen di 8 mm. La regolazione si effettua
tenendo conto che i bracci, quando stringono i pezzi da
saldare, devono risultare paralleli.
5) Serrare bene il dado 10262.
6) Rimontare la protezione di sicurezza 39360.
7) Accendere la saldatrice.
Sulla parte frontale della macchina il limitatore di corsa 70146
consente di regolare la posizione del pedale e di conseguenza
ridurre la corsa di lavoro. Regolarlo in modo da ottenere
l’altezza del pedale desiderata.
Working Stroke Adjustment
Adjust working stroke as short as possible to get:
Higher productivity.
Higher working precision.
Reduced labour accident possibility.
The working stroke can be adjusted by carrying out the
following operations:
1) Switch-off the welder
2) Remove the safety protection 39360.
3) Slacken nut 10262 by means of the box wrench supplied
with the standard accessories.
4) Adjust the working stroke by turning the screw on the top of
the rod by means of an Allen key, 8 mm. The adjustment is
carried out considering that, when clamping the pieces to
weld, the arms must be in a parallel position.
5) Carefully tighten nut 10262.
6) Assemble again safety protection 39360.
7) Switch-on the welder
The stroke limiting device 70146, placed on the welder front
side, enables to adjust the foot-control and thus to reduce the
working stroke. Set it up to get the foot-control desired height.

Related product manuals