EasyManua.ls Logo

TECO JSDAP-15A - Page 137

TECO JSDAP-15A
255 pages
Print Icon
To Next Page IconTo Next Page
To Next Page IconTo Next Page
To Previous Page IconTo Previous Page
To Previous Page IconTo Previous Page
Loading...
5-51
(4)
Pn317.0=3(After Starting HOME routine, run CW in 1
st
preset high speed to search for HOME
Reference.(ORG)
Pn317.1=1. After finding HOME Reference, continues in the same direction in 2
nd
preset low speed to
find the nearest Z Phase to be set as the HOME position.
Pn317.2=2 Input Contact SHOME Starts the HOME routine.
Pn317.3=0 Reverse search for HOME position
1
1
Speed
Position
Pn317.3=0
Z-Phase Pulse of
Motor Encoder
Input Contact ORG
Pn317.0=3
Input Contact SHOME
Pn319 (2
nd
Stage low speed)
Pn317.1=1
Pn318
(1
st
Stage High Speed)
Pn317.2=2
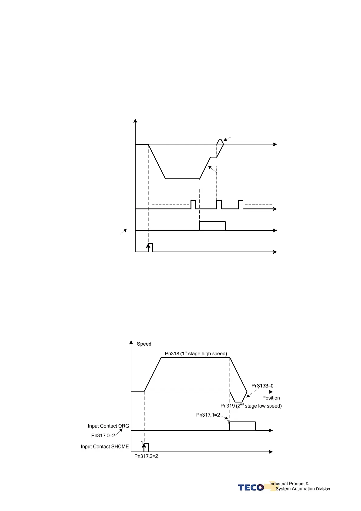
(5)
Pn317.0=2. After Starting HOME routine, run CCW in 1
st
preset high speed to search for HOME Reference.
(ORG).
Pn317.1=2. After Finding the HOME Reference, the Rising Edge of ORG sets the HOME Position.
Pn317.2=2 Input Contact SHOME Starts the HOME routine.
Pn317.3=0 Reverse search for HOME position

Table of Contents

Related product manuals