EasyManua.ls Logo

Terex Fermec 760 - Page 68

Terex Fermec 760
116 pages
Print Icon
To Next Page IconTo Next Page
To Next Page IconTo Next Page
To Previous Page IconTo Previous Page
To Previous Page IconTo Previous Page
Loading...
66
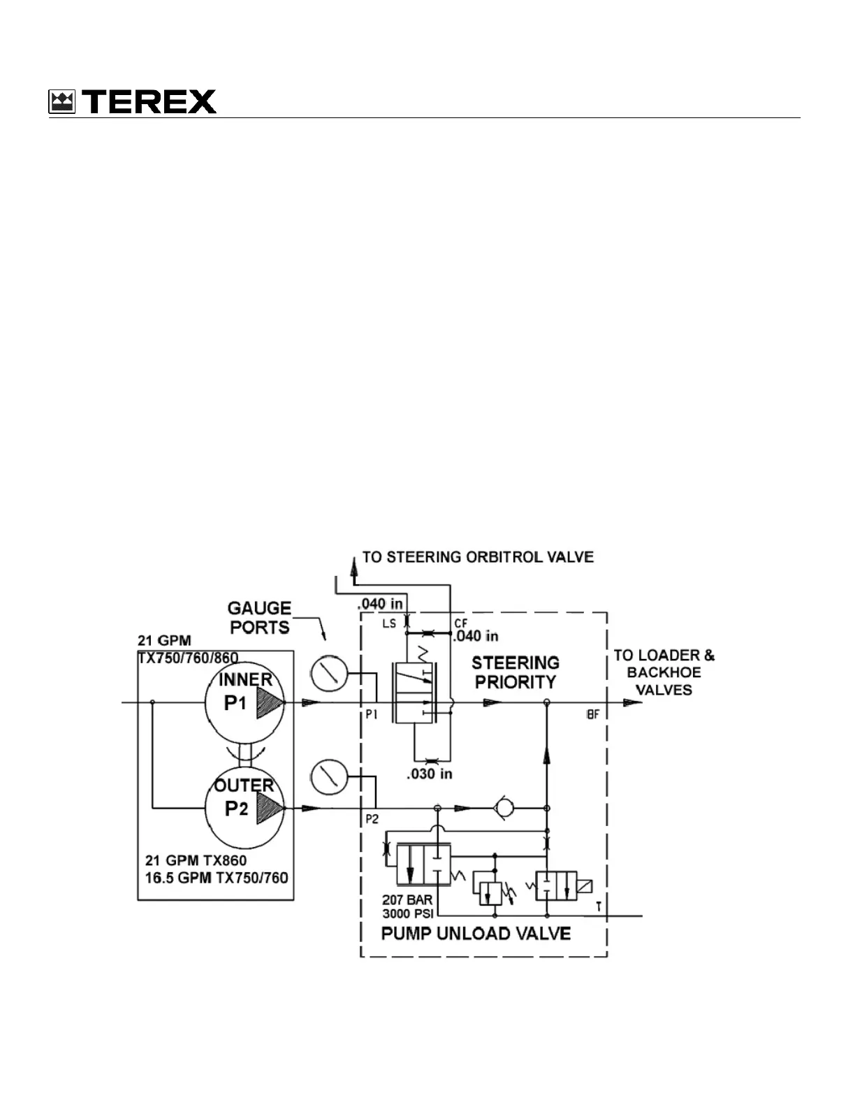
HUSCO UNLOADER & STEERING PRIORITY VALVE
The P100 Backhoe Loader fitted with the combined Oil Control Steering Priority /
Unloader Manifold uses two Hydraulic Pumps both delivering 21 GPM at 2200 Engine
RPM (860 Machine) or 21 / 16.5 GPM at 2200 RPM (750 / 760 Machine). The power
needed to drive both Pumps up to maximum relief valve pressure of 225 Bar is more than
the Engine delivers, so a Unloading Valve is used to divert all the flow from Pump P2 to
Tank when the Load Pressure reaches 3000 PSI (207 Bar). The Hydraulic Services can
then continue working at a reduced speed using the flow from the remaining Pump P1.
The output from P1 is delivered first to a Load sensing steering Priority Spool. This
Spool delivers oil to a Steering Orbitrol Unit according to the demand of the Steering
Wheel. When sufficient oil is supplied, the Spool shifts to divert excess oil to join the
flow from P1 to supply the main hydraulic functions.
Contents