EasyManua.ls Logo

Tescom Prime Plus Series - Page 44

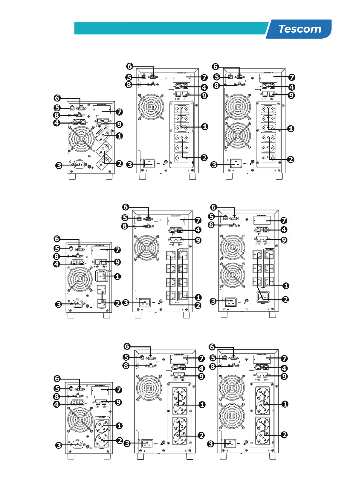
Tescom Prime Plus Series
Print Icon
To Next Page IconTo Next Page
To Next Page IconTo Next Page
To Previous Page IconTo Previous Page
To Previous Page IconTo Previous Page
Loading...
44
www.tescom-ups.gr
USER MANUAL
PRIME PLUS 1/1 1-3 kVA ΟNLINE UPS
6
Brazil Type
1K/1.5K 2K 3K
China Type
1K/1.5K 2K 3K
Schuko Type
1K/1.5K 2K 3K

Table of Contents

Related product manuals