EasyManua.ls Logo

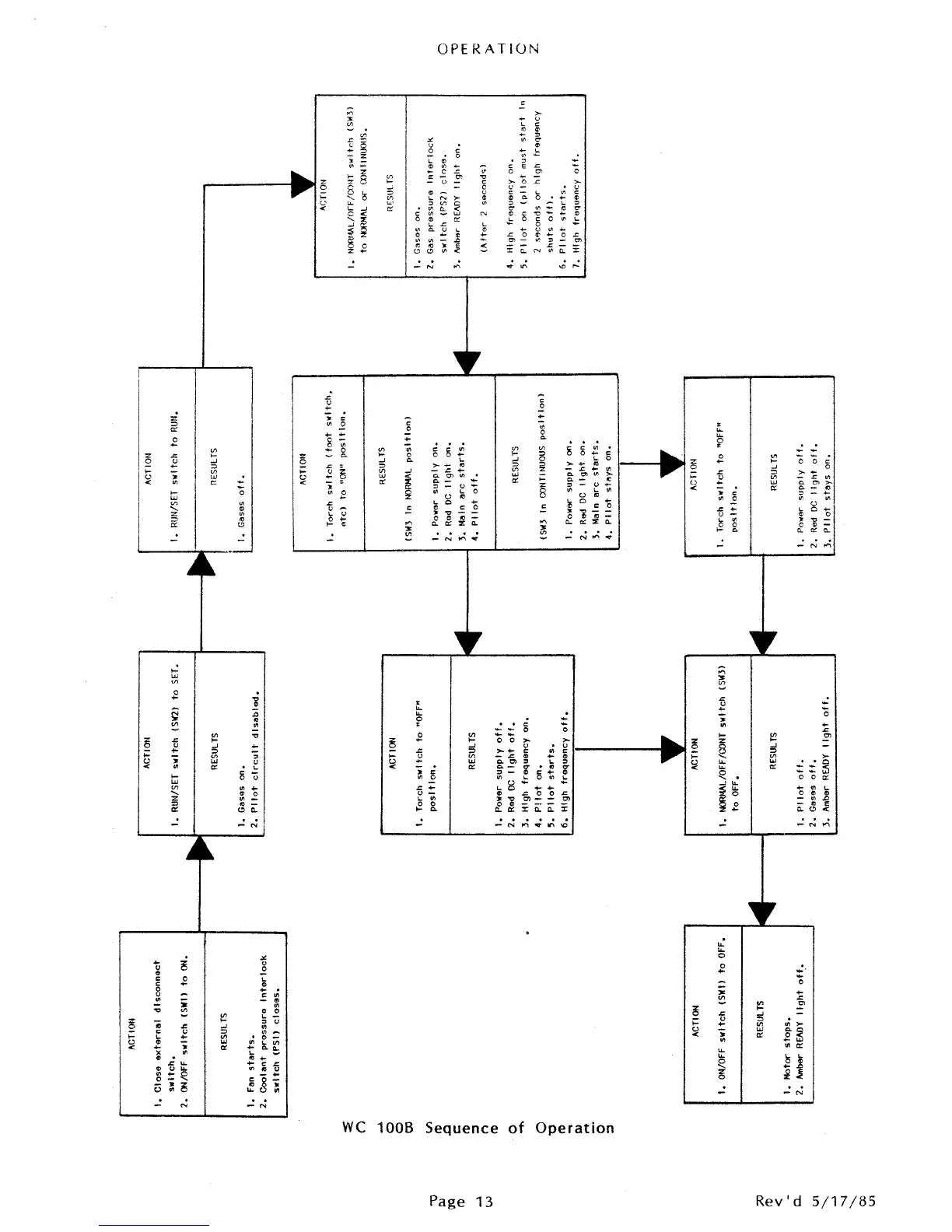
Thermal Arc WC100B - WC 100 B Sequence of Operation

Thermal Arc WC100B
54 pages
Print Icon
To Next Page IconTo Next Page
To Next Page IconTo Next Page
To Previous Page IconTo Previous Page
To Previous Page IconTo Previous Page
Loading...

Related product manuals