EasyManua.ls Logo

Titan 330 - Gear Box Assembly

Titan 330
24 pages
Print Icon
To Next Page IconTo Next Page
To Next Page IconTo Next Page
To Previous Page IconTo Previous Page
To Previous Page IconTo Previous Page
Loading...
20 © Titan Tool Inc. All rights reserved.
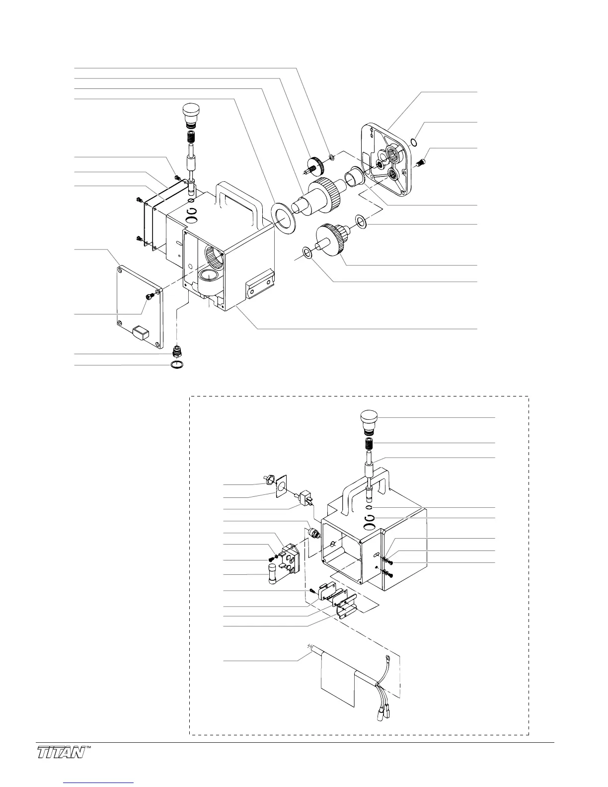
Gear Box Assembly
5
1
2
3
4
6
7
8
9
10
11
20
21
22
23
24
25
26
27
28
29
30
31
32
12
13
14
15
33
34
36
37
40
38
39
35
17
18
16
19

Related product manuals