EasyManua.ls Logo

Toro 30607 - Radiator and Oil Cooler Assembly

Toro 30607
374 pages
Print Icon
To Next Page IconTo Next Page
To Next Page IconTo Next Page
To Previous Page IconTo Previous Page
To Previous Page IconTo Previous Page
Loading...
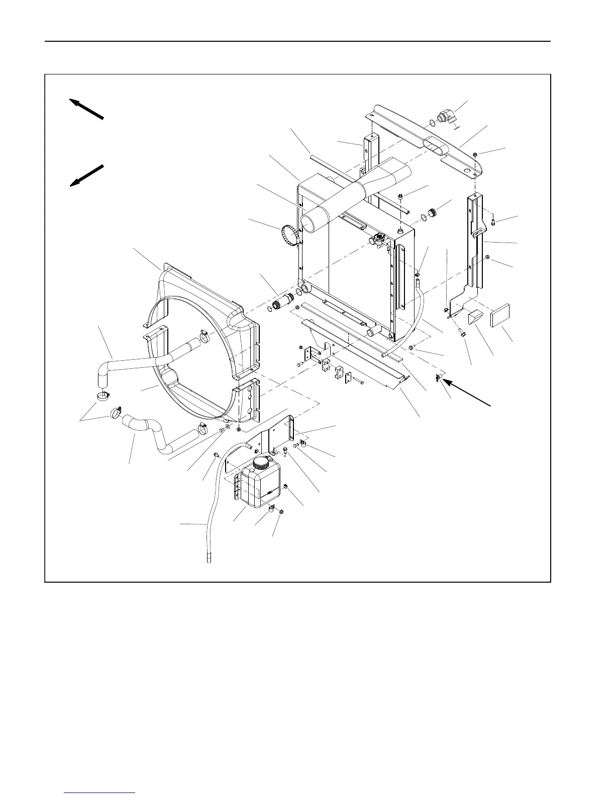
Groundsmaster 4000--D/4010--DPage 3 -- 14Yanmar Diesel Engine
Radiator and Oil Cooler Assembly
Figure 11
FRONT
RIGHT
2
3
6
8
9
10
11
1
5
7
4
24
25
3
26
27
28
29
30
31
32
33
34
35
Thread
Sealant
1. LH radiator support
2. Cap screw (2 used)
3. Flange nut (12 used)
4. Hose clamp (3 used)
5. Hose
6. Flange nut (6 used)
7. Foam plug (2 used)
8. Flange head screw (6 used)
9. Flange head screw (9 used)
10. Foam strip
11. Hose bracket
12. R--clamp (2 used)
13. Cap screw (2 used)
14. Hose
15. Coolant reservoir
16. Tank mount
17. Flat washer (7 used)
18. Cap screw (6 used)
19. Lower radiator hose
20. Hose clamp (4 used)
21. Upper radiator hose
22. Lower radiator shroud
23. Upper radiator shroud
24. Hose clamp
25. Air cleaner inlet hose
26. Radiator/hydraulic oil cooler
27. Bulb seal
28. RH radiator support
29. Straight hydraulic fitting
30. Intake bracket
31. 90
o
hydraulic fitting
32. Pipe plug
33. Hex plug with O--ring
34. Foam pad (2 used)
35. Draincock
36. Cap screw (2 used)
13
12
14
15
16
17
18
19
20
21
22
23
3
4
9
12
3
36

Table of Contents

Other manuals for Toro 30607

Related product manuals