EasyManua.ls Logo

Toro Reelmaster 3575-D - Radiator and Oil Cooler Assembly

Toro Reelmaster 3575-D
338 pages
To Next Page IconTo Next Page
To Next Page IconTo Next Page
To Previous Page IconTo Previous Page
To Previous Page IconTo Previous Page
Loading...
Reelmaster 3550−D/3555−D/3575−DPage 3 − 8Kubota Diesel Engine
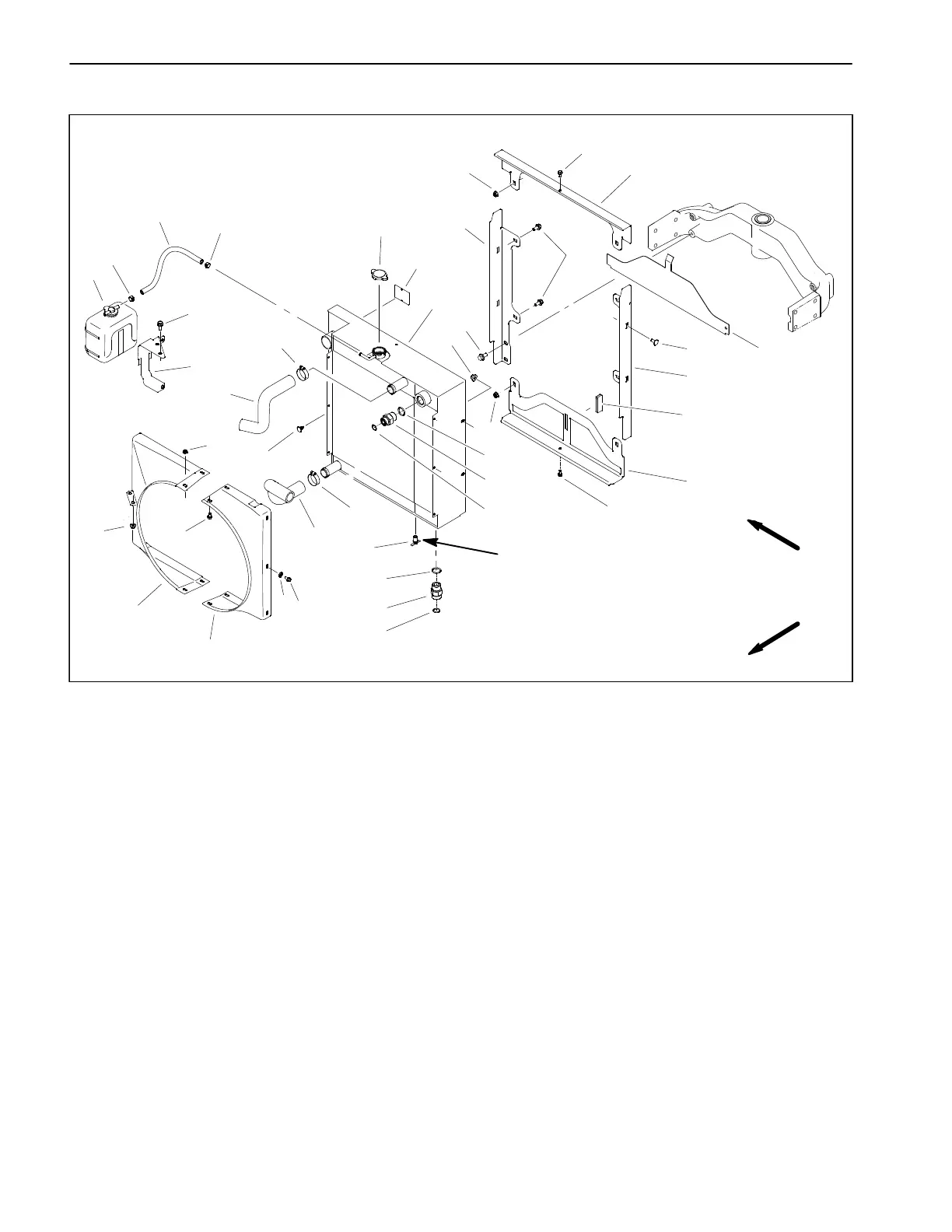
Radiator and Oil Cooler Assembly
Figure 7
1. Draincock valve
2. Flange head screw (8)
3. Flange nut (4)
4. Carriage bolt (4)
5. Radiator/oil cooler assembly
6. LH fan shroud
7. RH fan shroud
8. Flange head screw (4)
9. Hose clamp (2)
10. Flange head screw (6)
11. Overflow bottle bracket
12. Radiator lower shield
13. Magnet
14. Radiator hose (upper)
15. Radiator hose (lower)
16. Hose clamp (2)
17. Straight hydraulic fitting
(RM 3550−D)
Elbow hydraulic fitting
(RM 3555−D.3575−D)
18. Hose
19. Coolant expansion tank
20. Radiator cap
21. Flange nut (6)
22. Foam seal (2)
23. Straight hydraulic fitting
24. LH radiator bracket
25. RH radiator bracket
26. Bottom radiator bracket
27. Top radiator bracket
28. Plastic plug (2)
29. Flange nut (4)
30. Flange head screw (4)
31. Flat washer (4)
32. O−ring
33. O−ring
34. O−ring
FRONT
RIGHT
33
32
2
3
4
6
7
8
9
10
12
13
14
15
17
19
20
21
22
23
24
25
26
27
28
29
30
9
2
2
10
16
1
21
21
18
31
5
Thread
Sealant
33
34
16
11

Table of Contents

Related product manuals