EasyManua.ls Logo

Toro Reelmaster 3575-D - Page 56

Toro Reelmaster 3575-D
338 pages
To Next Page IconTo Next Page
To Next Page IconTo Next Page
To Previous Page IconTo Previous Page
To Previous Page IconTo Previous Page
Loading...
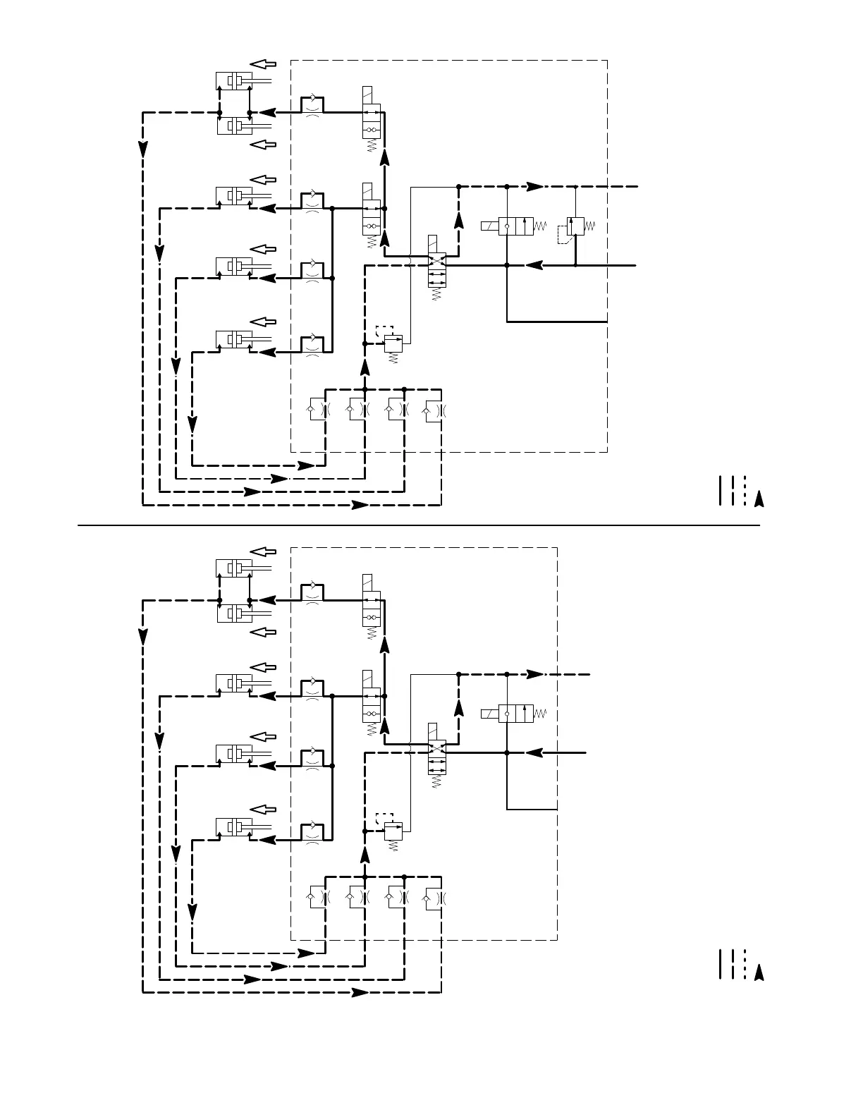
Reelmaster 3550−D/3555−D/3575−DHydraulic System Page 4 − 24
Lift Circuit: Raise
Working Pressure
Low Pressure (Charge)
Return or Suction
Flow
Groundmaster 3550 D
500 PSI
C1
C4
G1 T
C5
RV1
S2
S4
S3
S1
LIFT CONTROL
MANIFOLD
2.33” Stroke
C2
C3 C7
C6
C8
P
OR2
.046”
OR4
.046”
OR6
.046”
OR8
.055”
OR1
.040”
OR3
.040”
OR5
.040”
OR7
.035”
1.50” Bore
0.625” Rod
2.25” Stroke
1.50” Bore
0.625” Rod
2.33” Stroke
1.50” Bore
0.625” Rod
1.50” Bore
0.625” Rod
2.25” Stroke
2x
Extend
To Lower
Extend
To Lower
500 PSI
C1
C4
GT
C5
RV1
S2
S4
S3
S1
LIFT CONTROL
MANIFOLD
2.33” Stroke
C2
C3 C7
C6
C8
P
OR2
.046”
OR4
.046”
OR6
.046”
OR8
.055”
OR1
.040”
OR3
.040”
OR5
.040”
OR7
.035”
1.50” Bore
0.625” Rod
2.25” Stroke
1.50” Bore
0.625” Rod
2.33” Stroke
1.50” Bore
0.625” Rod
1.50” Bore
0.625” Rod
2.25” Strok
e
2x
Extend
To Lower
Extend
To Lower
2000 PSI
RV1
Lift Circuit: Raise
Working Pressure
Low Pressure (Charge)
Return or Suction
Flow
Groundmaster 3555−D/3575−D

Table of Contents

Related product manuals