EasyManua.ls Logo

Transpak TP-6000CE3 - Strapping Head Unit Components

Default Icon
121 pages
Print Icon
To Next Page IconTo Next Page
To Next Page IconTo Next Page
To Previous Page IconTo Previous Page
To Previous Page IconTo Previous Page
Loading...
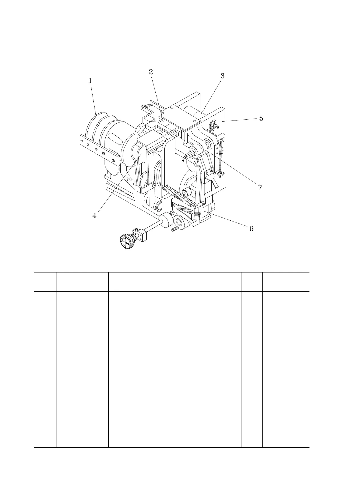
1 Cam Group (For 1PH)T6-1-10006 1 SEE PAGE 2
2
3
4
5
6
7
T6-1-20005
T6-1-30000
T6-1-40000
T6-1-50000
T6-1-60000
T6-1-70010
Slide Table Group (For 12mm)
Press Group
Heater Group
Strapping Head Group
Tension Group
Feed Group (For 12mm)
1
1
1
1
1
1
SEE PAGE 5
SEE PAGE 9
SEE PAGE 14
SEE PAGE 18
SEE PAGE 20
SEE PAGE 27
T6-1-90012 Strapping Head Unit (For 9mm) 1
T6-1-90013 Strapping Head Unit (For 15.5mm) 1
T6-1-90000 Strapping Head Unit (For 12mm) 1
STRAPPING HEAD UNIT
-1-
1 T6-1-90000
T6-1-90012
T6-1-90013
REF.
NO.
PART NO. DESCRIPTION REMARKS
Q'TY
Cam Group (For 3PH)T6-1-10007 1
T6-1-20007 Slide Table Group (For 15.5mm) 1
T6-1-20006 Slide Table Group (For 9mm) 1
T6-1-70011 Feed Group (For 9mm) 1
T6-1-70012 Feed Group (For 15.5mm) 1
01/18/08

Related product manuals