EasyManua.ls Logo

Transpak TP-6000CE3 - Page 30

Default Icon
121 pages
Print Icon
To Next Page IconTo Next Page
To Next Page IconTo Next Page
To Previous Page IconTo Previous Page
To Previous Page IconTo Previous Page
Loading...
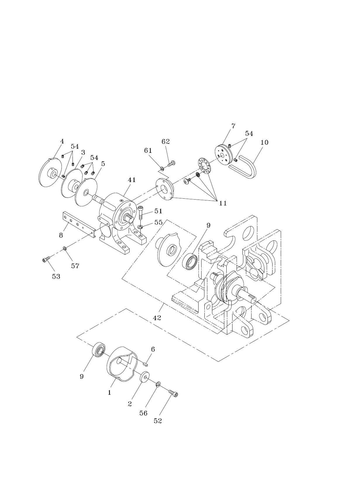
CAM GROUP
-2-
1-1 T6-1-10006
T6-1-10007
01/18/08

Related product manuals