EasyManua.ls Logo

Tripp Lite SmartPro SMART3000RM2UP - Page 35

Tripp Lite SmartPro SMART3000RM2UP
64 pages
Print Icon
To Next Page IconTo Next Page
To Next Page IconTo Next Page
To Previous Page IconTo Previous Page
To Previous Page IconTo Previous Page
Loading...
35
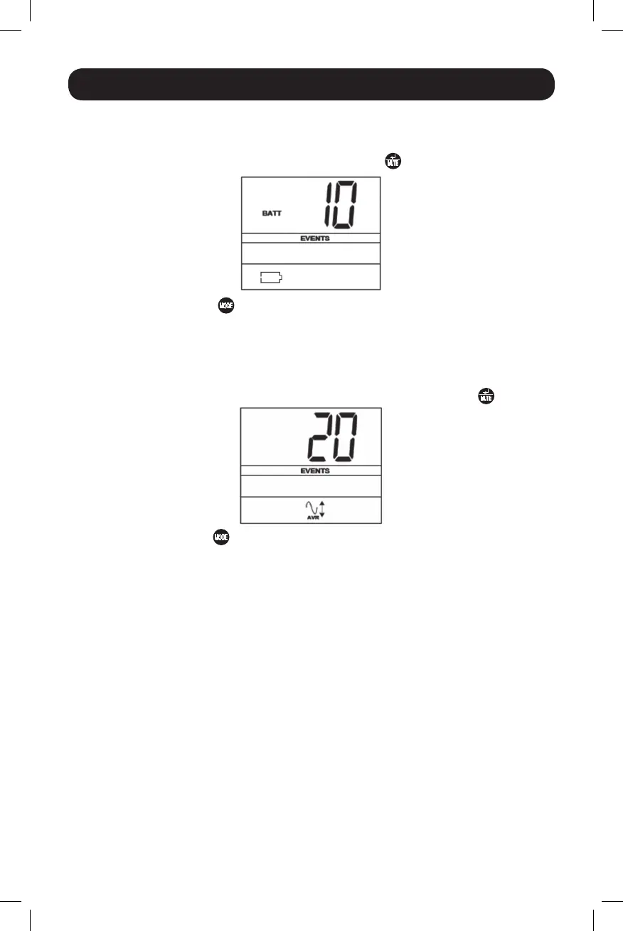
Eventos de Batería en Uso
EstafunciónpermitealusuarioverelnúmerodevecesqueelUPShaexperimentadouneventode
bateríaenuso.Parareiniciarelcontadora“0”,oprimaelbotón
.
Operación Básica continuación
Toque repetidamente el botón paraavanzarhastalapantalladeeventosdebateríaenuso,
como se mostró anteriormente.
Nota: El valor mostrado es un valor aleatorio usado como ejemplo.
Eventos de AVR
EstafunciónpermitealusuarioverelnúmerodevecesqueelUPShaexperimentadouneventode
RegulaciónAutomáticadeVoltaje.Parareiniciarelcontadora“0”,oprimaelbotón
.
Toque repetidamente el botón paraavanzarhastalapantallaAVR,comosemostróanteriormente.
Nota: El valor mostrado es un valor aleatorio usado como ejemplo.
Sensibilidad de Energía
Estacalibraciónseestablecenormalmenteal100%,parapermitirqueelUPSproporcione
protecciónmáximacontradistorsionesdeondaensualimentacióndeCA.Cuandoseproducen
esasdistorsiones,elUPSnormalmentecambiaráaalimentacióndeondasinusoidalpuradelas
reservasdelabateríaduranteeltiempoenqueladistorsiónestépresente.Enalgunasáreascon
alimentacióndeserviciopúblicomuydeficienteodondelaalimentacióndeentradadelUPSllegue
deungeneradorderespal-do,frecuentescaídasdelvoltajey/odistorsióncrónicadeondapuede
provocarqueelUPScambieabateríacondemasiadafrecuencia,agotandolasreservasdela
misma.PodráreducirlafrecuenciaenqueelUPScambiaabateríadebidoadistorsionesdeonda
ocaídasdevoltajeintentandodistintasconfiguracionesparaesteindicador.Amedidaquese
reducelacalibración,elUPSsevuelvemástolerantealasvariacionesenlaformadeondadela
alimentación de CA.
Nota: Cuando intente con diversas configuraciones, haga funcionar los equipos conectados en modo de prueba
seguro de manera que el efecto de las distorsiones en el equipo en la salida del UPS pueda evaluarse sin
interrumpir las opera-ciones críticas. El experimento debe durar lo suficiente para asegurar que se encuentren
todas las condiciones de alimentación esperadas.
14-03-028-93-3088.indb 35 3/20/2014 4:09:21 PM

Related product manuals