EasyManua.ls Logo

Trophy 2909 Walkaround - Page 63

Default Icon
72 pages
Print Icon
To Next Page IconTo Next Page
To Next Page IconTo Next Page
To Previous Page IconTo Previous Page
To Previous Page IconTo Previous Page
Loading...
57
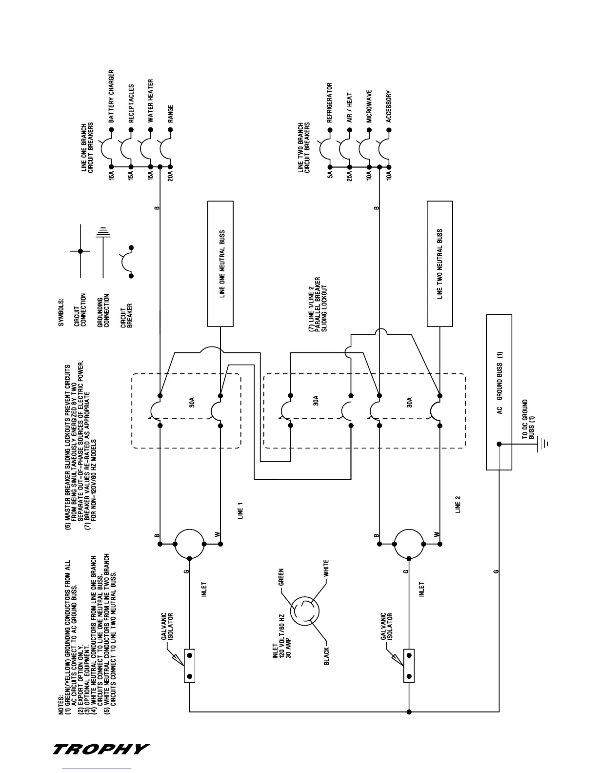
2902 Walkaround Owner’s Manual Supplement Chapter 12: Electrical System
Alternating Current (AC) System, Dual Shore Power

Table of Contents

Related product manuals