EasyManua.ls Logo

Troy-Bilt 609 - Page 32

Troy-Bilt 609
44 pages
Print Icon
To Next Page IconTo Next Page
To Next Page IconTo Next Page
To Previous Page IconTo Previous Page
To Previous Page IconTo Previous Page
Loading...
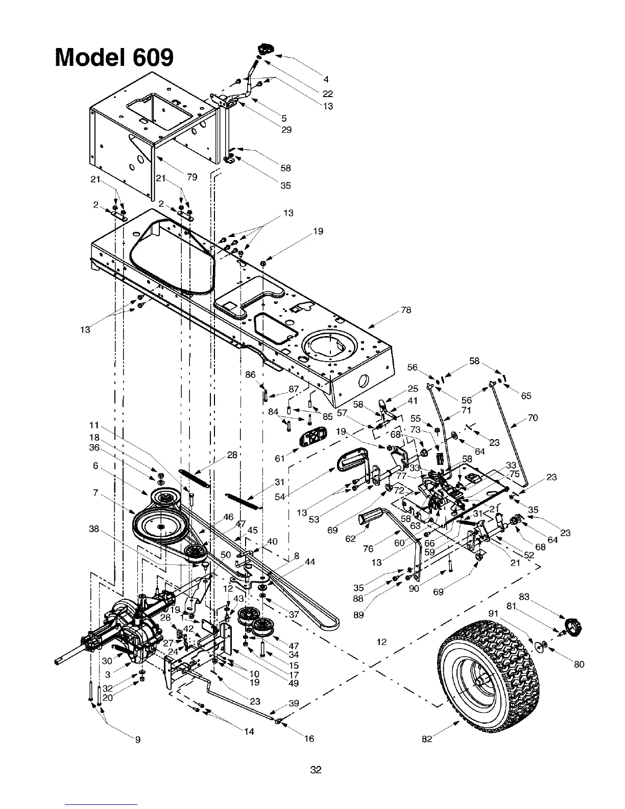
Model 609
_" 4
22
29
79
_58
\
35
18\
36\
_ 9
<
_14
"16
_23
35
64 23
21 " >
83
91 81_
8O
32

Related product manuals