EasyManua.ls Logo

True M30 - Use of Safety Key (E-STOP); Space Requirements

True M30
42 pages
Print Icon
To Next Page IconTo Next Page
To Next Page IconTo Next Page
To Previous Page IconTo Previous Page
To Previous Page IconTo Previous Page
Loading...
CHAPTER 1: SAFETY INSTRUCTIONS
Truefitness.com / 800.426.6570 / 636.272.7100 4
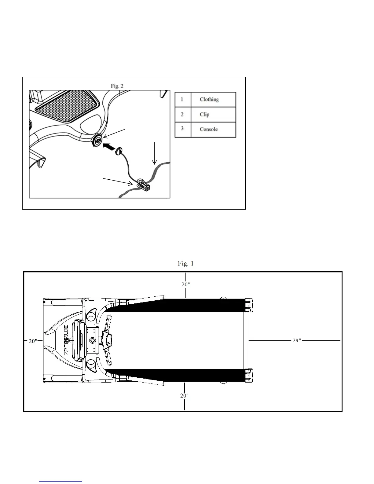
USE OF SAFETY KEY (E-STOP):
Attach the safety clip to your clothing before each workout and when treadmill is in use. (See Fig 2)
Attach the magnetic key to the treadmill console assembly
SPACE REQUIREMENTS:
Space Requirements:
TRUE’s recommendation is to leave a minimum of 20” (0.5m) on each side of the treadmill and a 79” (2 m) safety zone at
the rear of the treadmill. (See Fig 1)
3
2
1

Related product manuals