EasyManua.ls Logo

TYAN S5547 - System Block Diagram

TYAN S5547
96 pages
Print Icon
To Next Page IconTo Next Page
To Next Page IconTo Next Page
To Previous Page IconTo Previous Page
To Previous Page IconTo Previous Page
Loading...
http://www.tyan.com
8
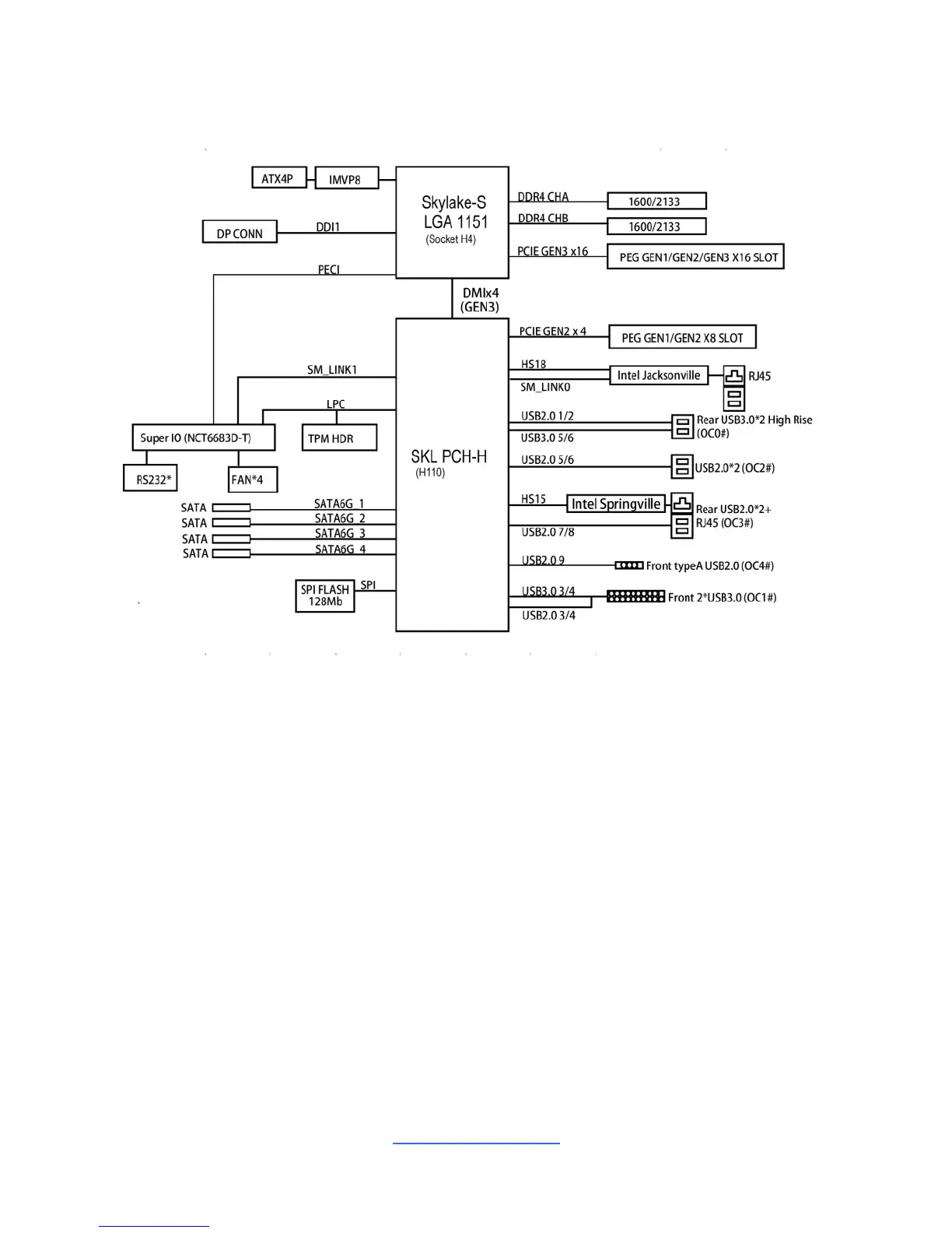
2.2 Block Diagram
S5547 Block Diagram

Related product manuals