EasyManua.ls Logo

Verderflex Vantage 3000 P - Recall Saved Calibration

Default Icon
35 pages
Print Icon
To Next Page IconTo Next Page
To Next Page IconTo Next Page
To Previous Page IconTo Previous Page
To Previous Page IconTo Previous Page
Loading...
Vantage 3000 P Version 3.4v-01/2019
13 | Page
Description Key combination Display
100 RPM 80 525M L/MN
050.0 ML >>0 25.0 ML
X 2
100 RPM 80 525ML/MN
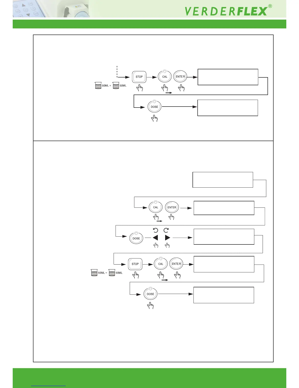
To exit calibration mode,
Press “stop”,
Press & hold calibrate button,
Press “enter”,
Press dose button twice (you
are now back to home screen).
Press and hold Calibrate button
& then press “enter”.
Press dose button and then
run the pump to check
measured dose.
Exit Calibration
To exit calibration mode,
Press “stop”
Press & hold calibrate button,
Press “enter”
Press dose button twice (you
are now back to home screen).
100 RPM 80 ---M L/MN
050.0 ML >>0 25.0 ML
100 RPM 80 525ML/MN
100 RPM 80 ---M L/MN
050.0 ML >>0 25.0 ML
100 RPM 80 525M L/MN
050.0 ML >>0 25.0 ML
X 2
100 RPM 80 525ML/MN
Exit Calibration
8.4 System Calibration (continued)
8.5 Recall Saved Calibration

Related product manuals