EasyManua.ls Logo

Vetek DGT - Page 84

Default Icon
87 pages
Print Icon
To Next Page IconTo Next Page
To Next Page IconTo Next Page
To Previous Page IconTo Previous Page
To Previous Page IconTo Previous Page
Loading...
DGT / DGT60 / DGTQ / DGTP
84
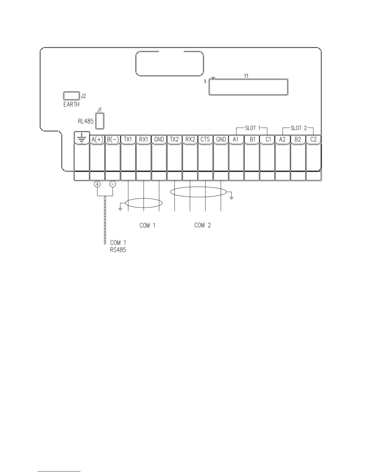
11.6 DGTP / DGTP AN EXPANSION BOARD
MEANING OF DGTP / DGTP AN TERMINAL BOARDS AND EXPANSION BOARD JUMPERS
ANALOGUE OUTPUT (DGTP AN version)
SLOT 1 ( I/O 1)
33. I+ + 20 mA
34. COM (GND)
35. V+ + 10 V
SLOT 2 ( I/O 2)
36. I+ + 20 mA
37. COM (GND)
38. V+ + 10 V
Note: the maximum resistance applicable on the output current is 350 Ohm and the minimum resistance applicable
on the output voltage is 10 kohm.

Table of Contents