EasyManua.ls Logo

Victrola ELLINGTON - Turntable and Connectivity; Rear View Connections; Turntable Components

Victrola ELLINGTON
14 pages
Print Icon
To Next Page IconTo Next Page
To Next Page IconTo Next Page
To Previous Page IconTo Previous Page
To Previous Page IconTo Previous Page
Loading...
6
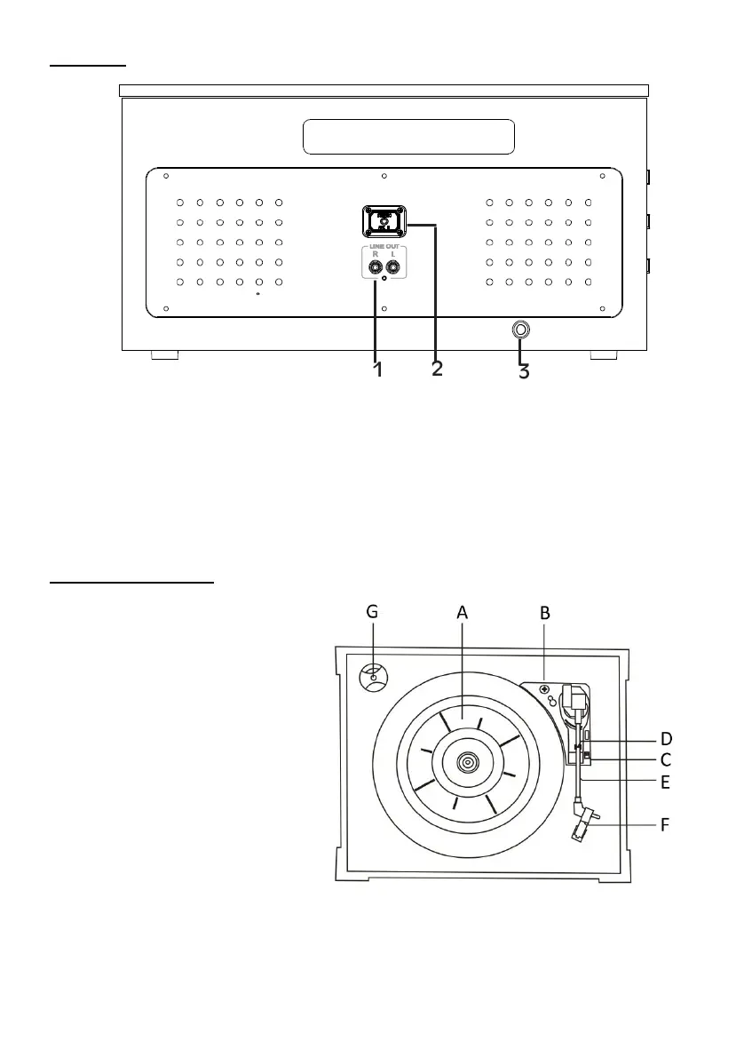
Rear View
1. Line-Out Jack
2. Aux-In Jack
3. AC Power Cord: Connect the AC plug into a wall outlet.
(It is strongly recommended that this product should be operated only from the type of
power source indicated on the marking label.)
Parts of the Turntable
A. Turntable
B. Safety Screw (for transport):
Before using the unit, turn the
screw clockwise
using a coin or screwdriver.
Important:
When you transport the unit,
turn the screw counterclockwise
to secure the turntable.
C. Speed Selector
D. Tone Arm Holder
E. Tone Arm:
Before use,
completely loosen the twist
tie on the tone arm and
uplift tone arm.
F. Stylus
G. 45 RPM Adaptor.

Related product manuals