EasyManua.ls Logo

Viessmann VR1 22 - Safety Connections (with Vitotronic Control)

Viessmann VR1 22
52 pages
Print Icon
To Next Page IconTo Next Page
To Next Page IconTo Next Page
To Previous Page IconTo Previous Page
To Previous Page IconTo Previous Page
Loading...
Vitorond 100, VR1 22 to 33, 91 to 140 Installation and Service
5583 571 - 05
20
Connections
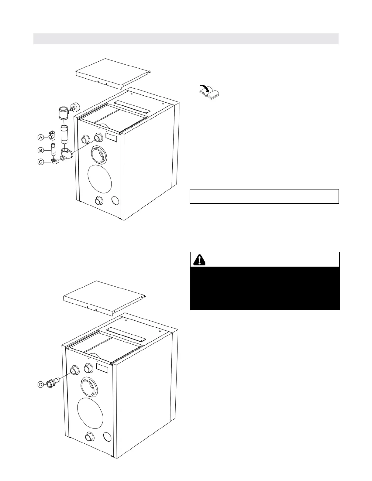
Safety Connections (Vitotronic Control)
1. Install bushing/return water injector combination D.
WARNING
Do not install an isolation valve between boiler and
pressure relief valve.
The discharge pipe for the pressure relief valve must be
oriented to prevent scalding of attendants. Pipe pressure
relief valve discharge pipe close to floor drain. Never pipe
discharge pipe to the outdoors.
Install the (approved) factory supplied pressure relief
valve. Removal of air from the system must occur via
use of air vent(s) in the system supply. To ensure the
boiler can be purged of all air, ensure supply/return water
lines do not contain restrictive piping where air could be
trapped.
1. Install pressure relief valve. Pipe pressure relief valve
as illustrated and connect to boiler water supply
connection.
2. Install discharge pipe on pressure relief valve.
The discharge pipe should terminate approximately
6 in. (150 mm) above a floor drain. The end of the
pipe must not be threaded.
Minimum connection diameters:
Pressure relief valve ..............................................
¾
Discharge pipe ......................................................
¾
This boiler does not require a flow switch.
Refer to instructions supplied with
the pressure relief valve.
IMPORTANT
Pressure relief valve
Boiler return injector
Legend
A Pressure relief valve
B Nipple, ¾” x 3½”
C Tee, 1½” x ¾” x 1½”

Table of Contents

Related product manuals