EasyManua.ls Logo

Viessmann VR1 22 - Safety Connections (with Hydrostat 3250-Plus Control)

Viessmann VR1 22
52 pages
Print Icon
To Next Page IconTo Next Page
To Next Page IconTo Next Page
To Previous Page IconTo Previous Page
To Previous Page IconTo Previous Page
Loading...
17
5583 571 - 05
Vitorond 100, VR1 22 to 33, 91 to 140 Installation and Service
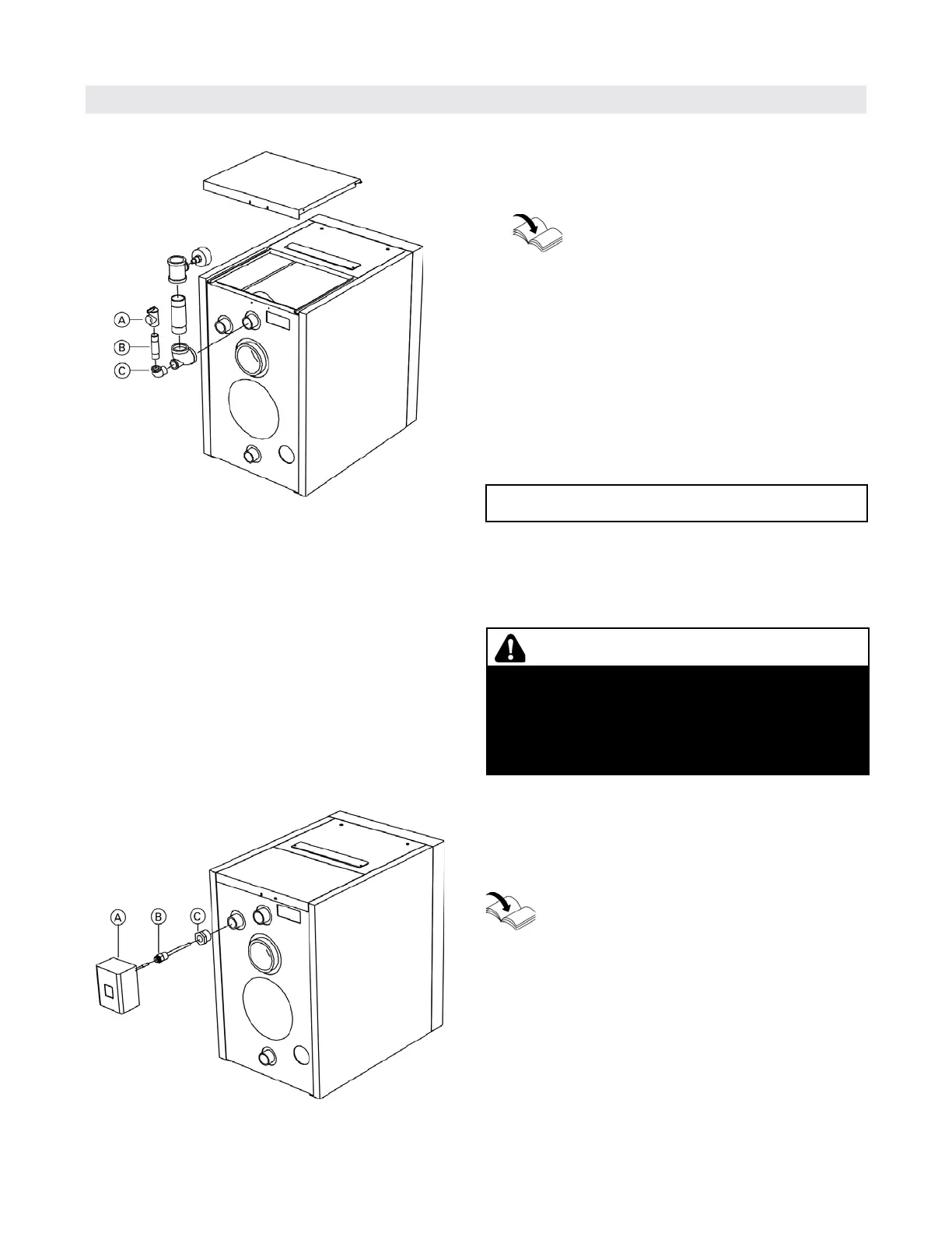
Connections
Safety Connections (with Hydrostat 3250-Plus Control)
Pressure relief valve
1. Install pressure relief valve. Pipe pressure relief valve
as illustrated and connect to boiler water supply
connection.
2. Install discharge pipe on pressure relief valve.
The discharge pipe should terminate approximately
6” (150 mm) above a floor drain.
The end of the pipe must not be threaded.
Minimum connection diameters:
Pressure relief valve..............................................
¾
Discharge pipe......................................................
¾
Piping to precharged expansion tank
VR1 22 to 33, 91 to 140.......................................
¾
This boiler does not require a flow switch.
Install the (approved) factory supplied pressure relief valve.
Removal of air from the system must occur via use of air
vent(s) in the system supply. To ensure the boiler can be
purged of all air, ensure supply/return water lines do not
contain restrictive piping where air could be trapped.
WARNING
Do not install an isolation valve between boiler and
pressure relief valve.
The discharge pipe for the pressure relief valve must be
oriented to prevent scalding of attendants. Pipe pressure
relief valve discharge pipe close to floor drain. Never pipe
discharge pipe to the outdoors.
IMPORTANT
Refer to instructions supplied with
the pressure relief valve.
Boiler control
1. Install supplied high limit control as shown.
Maximum allowable temperature setting is 240°F (110°C).
Refer to instructions supplied with
the Hydrostat 3250-Plus control.
Legend
A Pressure relief valve
B Nipple, ¾” x 3½”
C Tee, 1½” x ¾” x 1½”
Legend
A Hydrostat 3250-Plus high limit control
B Electro-well
C Hex bushing

Table of Contents

Related product manuals