EasyManua.ls Logo

Viper 500HF - Wire Connection Guide

Viper 500HF
23 pages
Print Icon
To Next Page IconTo Next Page
To Next Page IconTo Next Page
To Previous Page IconTo Previous Page
To Previous Page IconTo Previous Page
Loading...
© 1998 Directed Electronics, Inc. Vista, CA
9 N438 7/98
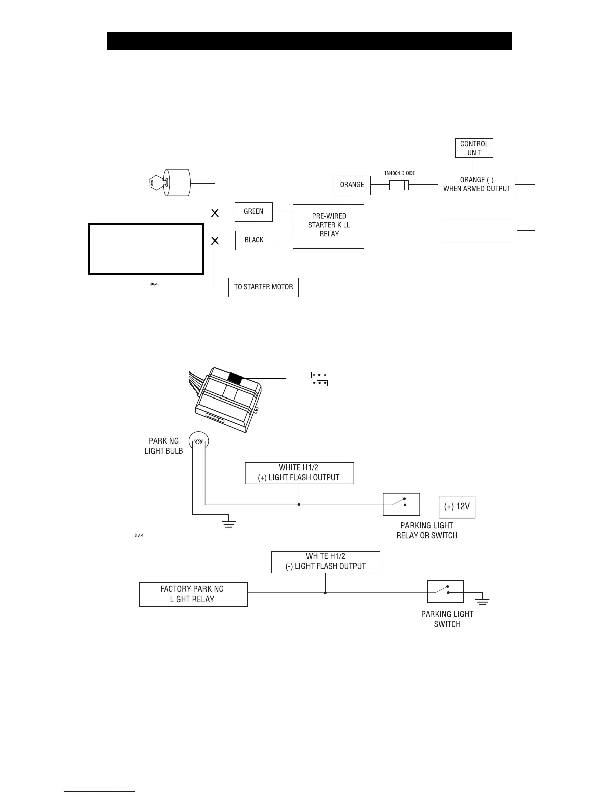
WIRE CONNECTION GUIDE
H1/1 ORANGE
(-) ground-when-armed output: This wire supplies a (-) 500 mA ground as long as the system is
armed. This output ceases as soon as the system is disarmed. The orange wire is pre-wired to control the 8618
starter kill relay.
NOTE: If connecting the orange wire to control another module, such as a 529T or 530T window con
troller, a 1 amp diode (type 1N4004) will be required. Insert the diode as shown below.
H1/2 WHITE
(+/-) light flash output: As shipped, this wire should be connected to the (+) parking light wire. If the
light flash polarity jumper under the sliding door is moved to the opposite position (see below), this wire supplies a
(-) 200 mA output. This is suitable for driving (-) light control wires in Toyota, Lexus, BMW, some Mitsubishi, some
Mazda, etc.
H1/3 WHITE/BLUE
channel 3 (-) output:This wire provides a (-) 200 mA signal whenever the transmitter code con-
trolling channel 3 is received.This signal will continue as long as that transmission is received. Use for options such
as the 551T Valet
®
Start system, the 529T or 530T power window controllers, etc.
IMPORTANT! Never use this wire to drive anything but a relay or a low-current input! The transistorized
output can only provide 200 mA of current, and connecting directly to a solenoid, motor, or other high-cur
rent device will cause it to fail.
LEARN VALET
LIGHT(-) LIGHT (+)
IGNITION SWITCH
TO OPTIONAL SENSORS,
529T, 530T, ETC.
IMPORTANT! Never
interrupt any wire other
than the starter wire.

Related product manuals