EasyManua.ls Logo

Volvo Penta TAMD42 - Page 101

Volvo Penta TAMD42
140 pages
Print Icon
To Next Page IconTo Next Page
To Next Page IconTo Next Page
To Previous Page IconTo Previous Page
To Previous Page IconTo Previous Page
Loading...
Electrochemical corrosion
99
Prevention of stray currents during installation
All DC circuits must have an insulated return ca-
ble. Consequently, a metal keel must not be used
as a return conductor.
All splices in the circuit such as socket housings
and terminal blocks shall be installed so that they
are not exposed to moisture or bilge water. The
same applies to switch panels, fuse holders etc.
Cables shall be routed as high as possible above
the bilge water in a keel. If a cable must be routed
where it is exposed to water, it must be housed in
a watertight conduit and the connections must also
be watertight.
Cables which can be subject to wear must be in-
stalled in self-draining conduits, sleeves, cable
channels etc.
A main switch for the starter battery shall be in-
stalled , one on the (+) side. The main switch shall
disconnect all equipment except equipment such
as theft protection, bilge pumps and the operating
switch for electrical main switches.
If several batteries are used (equipment batteries),
the main switch shall be fitted between the extra
battery’s (+) terminal and the fuse block for the
boat’s electrical equipment. The main switch shall
disconnect all equipment except equipment such
as theft protection, bilge pumps and the operating
switch for electrical main switches.
Engines and drive lines must not be connected
galvanically to other equipment such as trim plane
or bathing steps unless bonded to a protected an-
ode. They must not be used as a ground for radio,
navigation or other equipment where separate
ground cables are used.
All separate ground cables (ground connections for
radio, navigation equipment, echo sounder etc)
must be linked to a common ground point , i.e. a
cable that does not normally act as a return for
equipment.
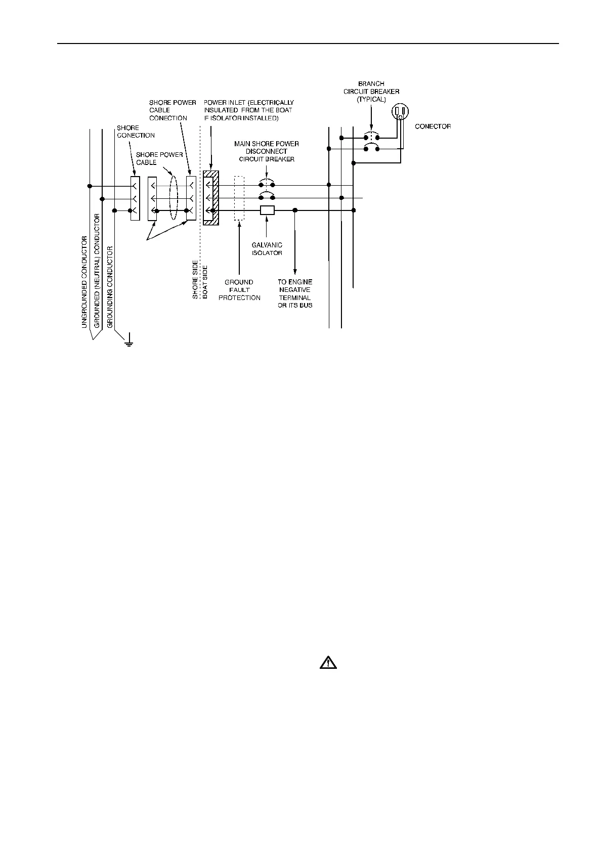
If shore-based power is connected (120V/230V),
the safety ground must not be connected to the
engine or any other ground point on the boat. The
safety ground must always be drawn to the con-
nection cabinet’s ground terminal ashore.
Transformers connected to a shore-base current
supply, such as a battery charger, shall have the
protection ground on the input side (120/230V) con-
nected but the minus connection on the output
side (12/24V) not connected, i.e. galvanically
separated.
WARNING! Installation and work on
shore-connected equipment may only be carried
out by an electrician who is qualified to work on
installations with higher voltage than 50V AC.
NOTE! This diagram is only an example.
Reprinted with permission of the American Boat and Yacht Council, Inc.,
from the Standards and Recommended Practices for Small Craft, section
E-8 (18), page 17, © July 1998.
120–230V AC

Table of Contents

Related product manuals