EasyManua.ls Logo

VOX electronics CGL650IX - 8 Sklapanje Proizvoda; Dijagram Montaže I Komponenata

VOX electronics CGL650IX
114 pages
Print Icon
To Next Page IconTo Next Page
To Next Page IconTo Next Page
To Previous Page IconTo Previous Page
To Previous Page IconTo Previous Page
Loading...
15
SKLAPANJE PROIZVODA
8 SKLAPANJE PROIZVODA
8.1 Dijagram montaže i komponenata
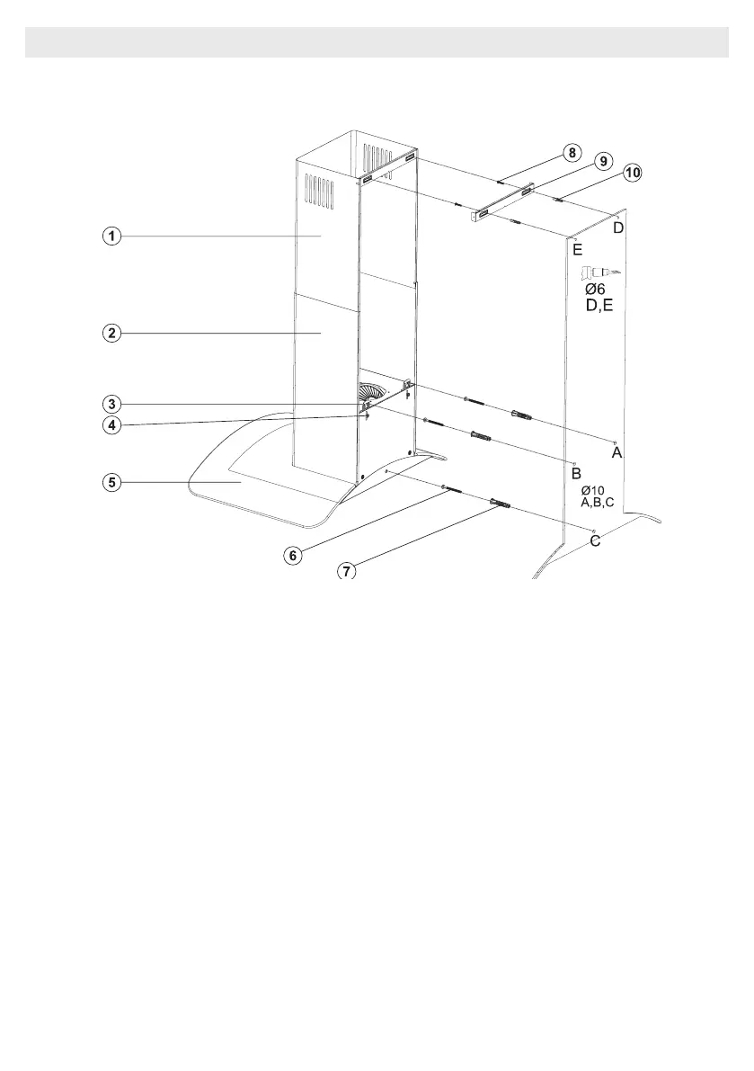
Slika 10: MONTAŽA SKLOPA I KOMPONENATA
1. Unutrašnji ventilator
2. Spoljašnji ventilator
3. Ploča za kačenje proizvoda
4. Fiksirajući zavrtanj ploče za kačenje proiz-
voda
5. Staklo
6. 3x 5.5x60 zavrtanj za montiranje na zid
7. 3x Ø10mm plastični ekser
8. 2x 3.9x22 zavrtanj
9. Ploča za povezivanje ventilatora
10. 2x Ø6mm plastični ekser
Odvrćući zavrtanj ploče za kačenje proizvoda
(4) povucite ploče za kačenje (3) na gore i ksi-
rajte viseću ploču ponovnim zavrtanjem ksira-
jućeg zavrtnja. Slika 10
Sastavite aspirator uz pomoć šeme za skla-
panje. (Slika 8 / 7)
Pričvrstite šablon za sklapanje na zid, na
određenoj visini (vidi minimalna i maksimalna
odstojanja za radnu površinu u šablonu za skla-
panje). Probušite tačke A, B i C.(Slika 10)
Ubacite Ø10mm tiplove (7) u rupe izbušene
kao A, B, C i D, i zašrate zavrtnje na mestima A
+ B, tako da 5mm prostora ostaje između glave
šrafa i zida. (Slika 10)
Okačite ga na zid pomoću ploče za kačenje
aspiratora.
Zategnite A + B zavrtnje na zidu i potpuno
pričvrstite proizvod u tački C.

Table of Contents

Related product manuals