EasyManua.ls Logo

Wacker Neuson PT 6L - 7 Schematics; Trailer Wiring

Wacker Neuson PT 6L
72 pages
Print Icon
To Next Page IconTo Next Page
To Next Page IconTo Next Page
To Previous Page IconTo Previous Page
To Previous Page IconTo Previous Page
Loading...
PT 6L Schematics
wc_tx001596gb.fm 53
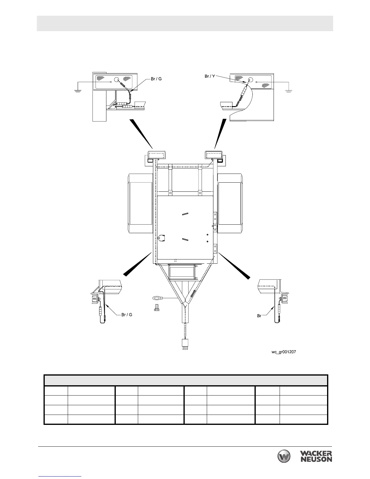
7 Schematics
7.1 Trailer Wiring
Wire Colors
B Black R Red Y Yellow Or Orange
G Green T Tan Br Brown Pr Purple
L Blue V Violet Cl Clear Sh Shield
P Pink W White Gr Gray LL Light blue

Table of Contents

Related product manuals