EasyManua.ls Logo

Wareforce UL30 - Terminal Block Box

Wareforce UL30
72 pages
Print Icon
To Next Page IconTo Next Page
To Next Page IconTo Next Page
To Previous Page IconTo Previous Page
To Previous Page IconTo Previous Page
Loading...
07610-004-37-37-P
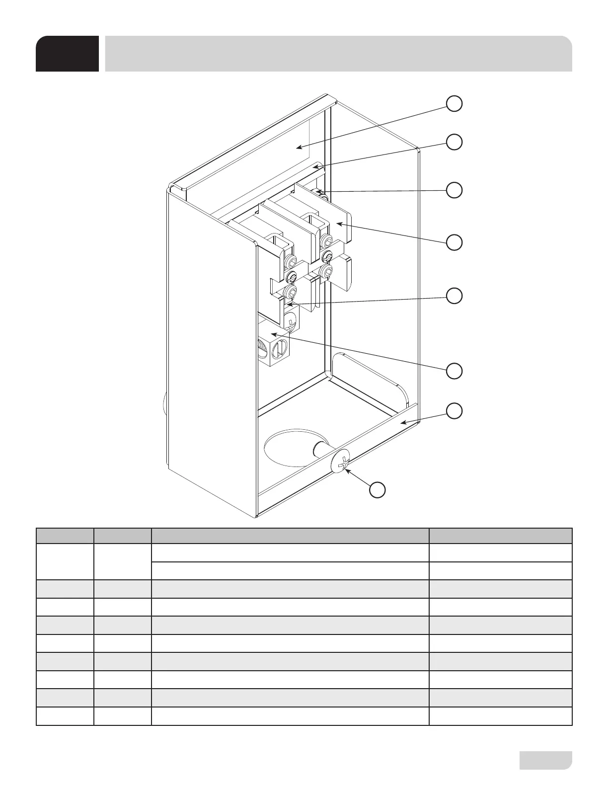
35
ITEM QTY DESCRIPTION PART NUMBER
1 1
Decal, Power Connections, UH30-FND 09905-011-62-72
Decal, Power Connections, UL30 09905-011-47-64
2 1 Terminal Block Box 05700-003-27-69
1 Terminal Box Cover (Not Shown) 05700-003-27-70
3 1 Decal, Copper Conductors 09905-011-47-35
4 2 Screw, 10-32 x 1/2" 05305-011-39-36
5 1 Ground Lug 05940-200-76-00
6 2 Terminal Block 05940-500-02-19
7 1 Locknut, 10-24 SS Hex with Nylon Insert 05310-373-01-00
8 1 Terminal Block Track 05700-000-43-60
1
2
3
4
5
6
7
8
TERMINAL BLOCK BOX
PARTS

Table of Contents

Related product manuals