EasyManua.ls Logo

Weber Summit 460 - Page 50

Weber Summit 460
178 pages
Print Icon
To Next Page IconTo Next Page
To Next Page IconTo Next Page
To Previous Page IconTo Previous Page
To Previous Page IconTo Previous Page
Loading...
50
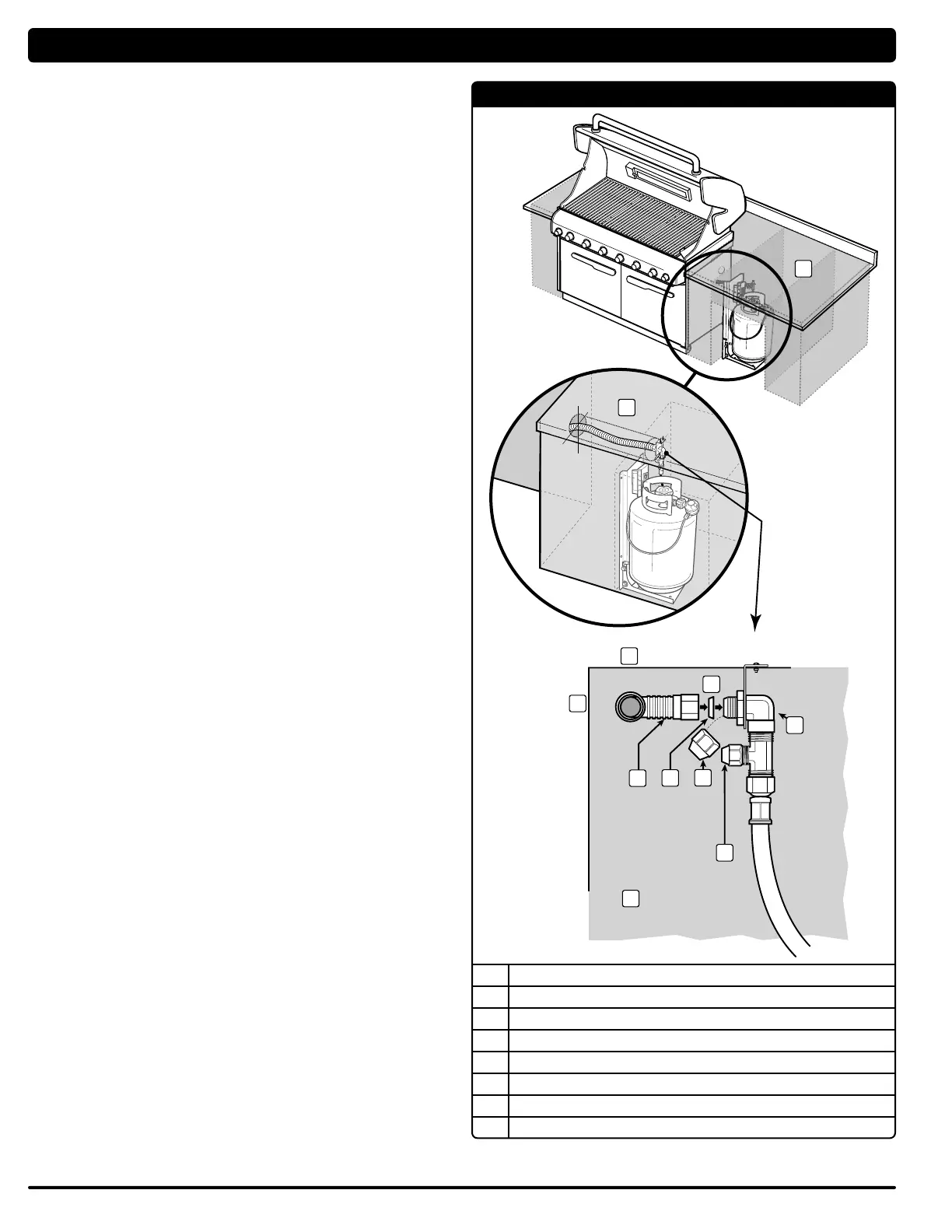
CONECTAR EL SUMINISTRO DE GAS
Una línea de gas corrugada de 58" (147.32 cm) se conecta al múltiple de la barbacoa.
A) La línea principal corrugada pasa a través de la cavidad de la estructura de la
“isla” a la conexión entre la manguera y el regulador dentro del compartimiento del
tanque (1).
B) Destape el accesorio acampanado de la conexión de 90° en la manguera de
regulación ubicada dentro del compartimiento del tanque (2).
C) Conecte la manguera corrugada principal a la conexión de 90° en el tabique.
Utilice la empaquetadura abocinada de
1
2" (12.7 cm) para asegurar un sellado
correcto (3).
Nota: Las empaquetaduras abocinadas de
1
2" vienen incluidas en el juego de
caja para tanques de propano licuado que se suministra con la Barbacoa de Gas
Empotrada Summit®. Si está instalando el quemador lateral opcional, utilice sólo la
empaquetadura abocinada de
3
8" (9.53 mm).
Si decide usar una línea corrugada de gas diferente a la que se proporciona, el conector
debe cumplir con las normas para conectores para aparatos de gas de uso exterior
y casas prefabricadas (Standard for Connectors for Outdoor Gas Appliances and
Manufactured Homes) ANSI Z21.75*CSA 6.27 y debe ser adecuada para instalarse en
exteriores. La longitud máxima de esta conexión deberá ser de 6 pies (1.82 m).
Si el gabinete del tanque tiene una puerta, el conector debe estar visible al abrir la
puerta.
Cualquier tubería, tubería flexible o conector de gas dentro del gabinete integrado debe
tener soportes.
Cualquier abertura en el compartimiento del gabinete integrado por la cual atraviesa la
tubería, tubería flexible o conectores de gas debe de contar con un casquillo o alguno
otro medio para evitar rozaduras.
CUADRO DE CONEXIONES
1
2
3
4
5
6
7
8
9
10
11
4 Ubicación típica del gabinete o compartimiento del tanque
5 Vista lateral
6 Parte superior de la caja
7 Parte posterior de la caja
8 Línea de gas corrugada al múltiple
9 Conexión de 90°
10 Empaquetadura abocinada
1
2" (13 mm)
11 Tapa (quemador lateral opcional)
CONEXIÓN DEL SUMINISTRO DE GAS

Table of Contents

Related product manuals