EasyManua.ls Logo

Weber Summit E/S 470 - Page 9

Weber Summit E/S 470
88 pages
Print Icon
To Next Page IconTo Next Page
To Next Page IconTo Next Page
To Previous Page IconTo Previous Page
To Previous Page IconTo Previous Page
Loading...
9
WWW.WEBER.COM
®
9
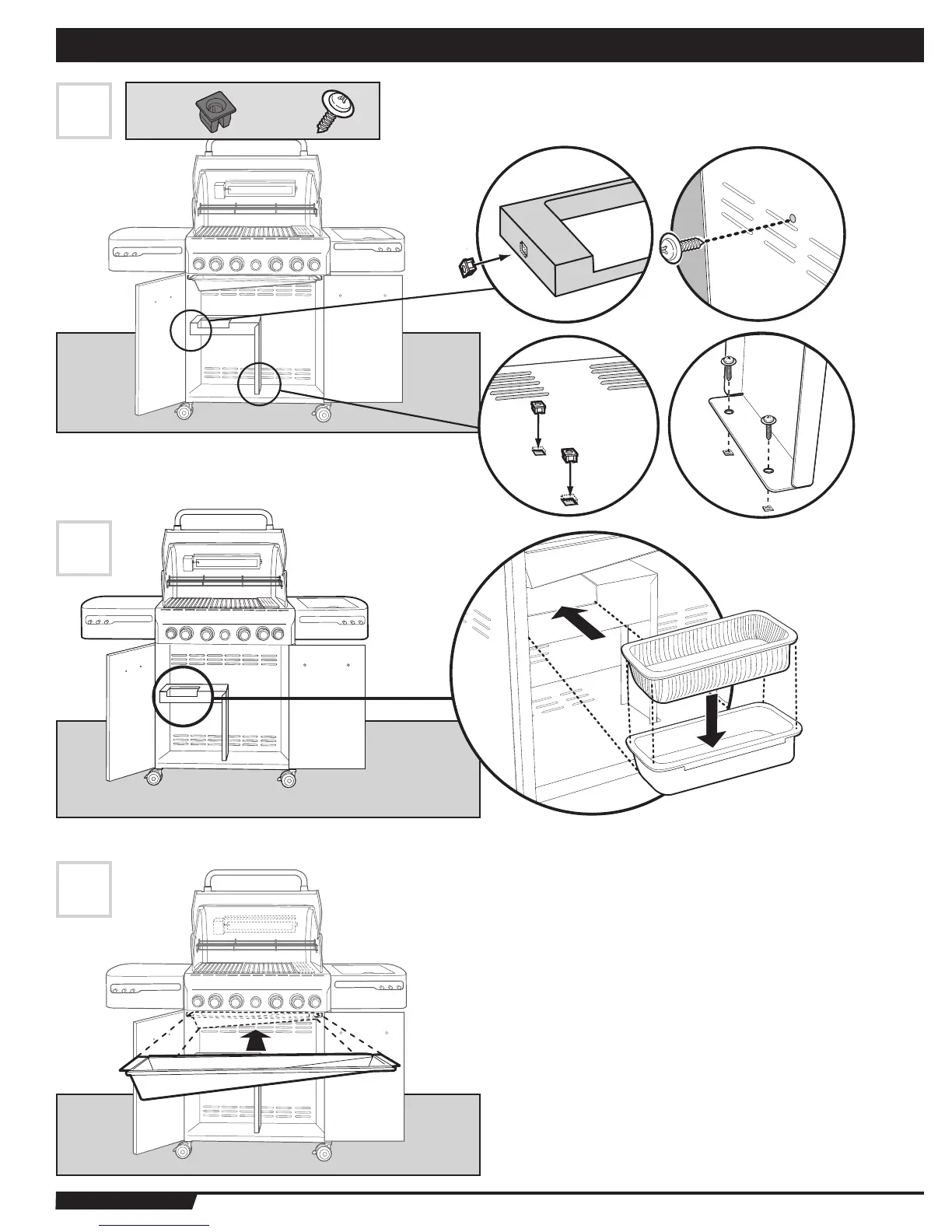
ASSEMBLY, ASSEMBLAGE, ENSAMBLAJE
7
8
9
3 - 3 -

Table of Contents

Related product manuals