EasyManua.ls Logo

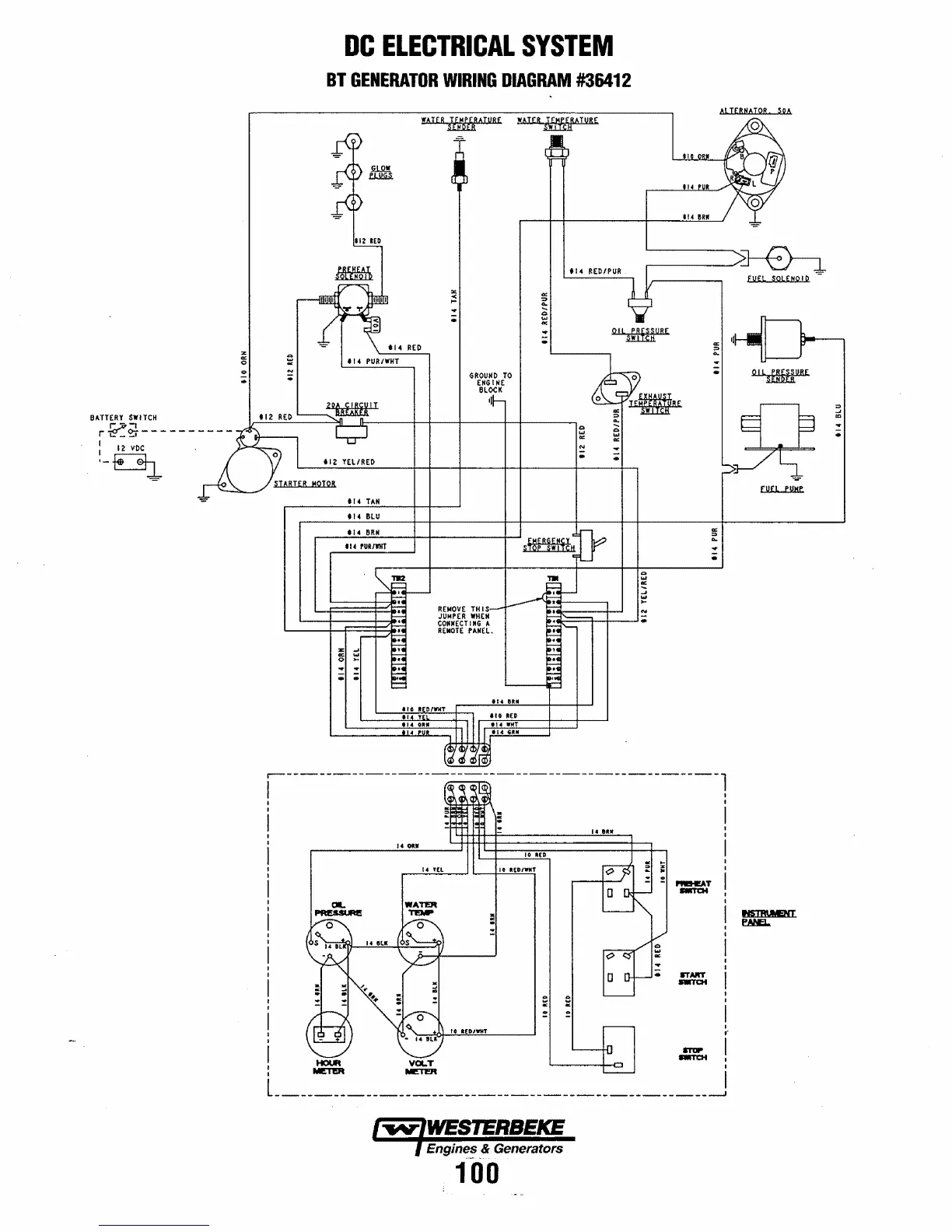
Westerbeke W-27A - DC Electrical System Wiring Diagrams (Continued); BT Generator Wiring Diagram #36412

Westerbeke W-27A
110 pages
Print Icon
To Next Page IconTo Next Page
To Next Page IconTo Next Page
To Previous Page IconTo Previous Page
To Previous Page IconTo Previous Page
Loading...
BATTERY SWITCH
r~~----------
!-fr~
z
co::
o
""
...
;
DC
ELECTRICAL
SYSTEM
BT
GENERATOR
WIRING
DIAGRAM
#36412
tl2
YEL/RED
114
TAN
tl4
BLU
tl4
aRN
"4
PUR/WIlT
z:
....
""
...
o
..
..
;;
..
CIL
PRESSURI!
o
wmB~"TURE
z
<
...
GROUND
TO
ENG
I
HE
BLOCK
II
REMOVE
TH
IS
JUMPER
WHEN
CONNECT
I
NG
A
REMOTE
PAIIEL.
10
ltD
'4
Y£l
10
ItD/.NT
WATER
TEMP
o
VOLT
METER
10 I[D/WilT
Engine~
& Generators
100
114
BED/PUR
~
N
..
;
,<
e ••
..-------"~
run
SOLENO
I D
'"
~
;
01
LrlmrBE
~
~
....
...
f..I1.E.I....!.
~
..,
;
'"
....
~
N
.

Table of Contents

Related product manuals