EasyManua.ls Logo

Westerbeke W-27A - DC Electrical System Wiring Diagrams (Continued); Engine Wiring Diagram #39144

Westerbeke W-27A
110 pages
Print Icon
To Next Page IconTo Next Page
To Next Page IconTo Next Page
To Previous Page IconTo Previous Page
To Previous Page IconTo Previous Page
Loading...
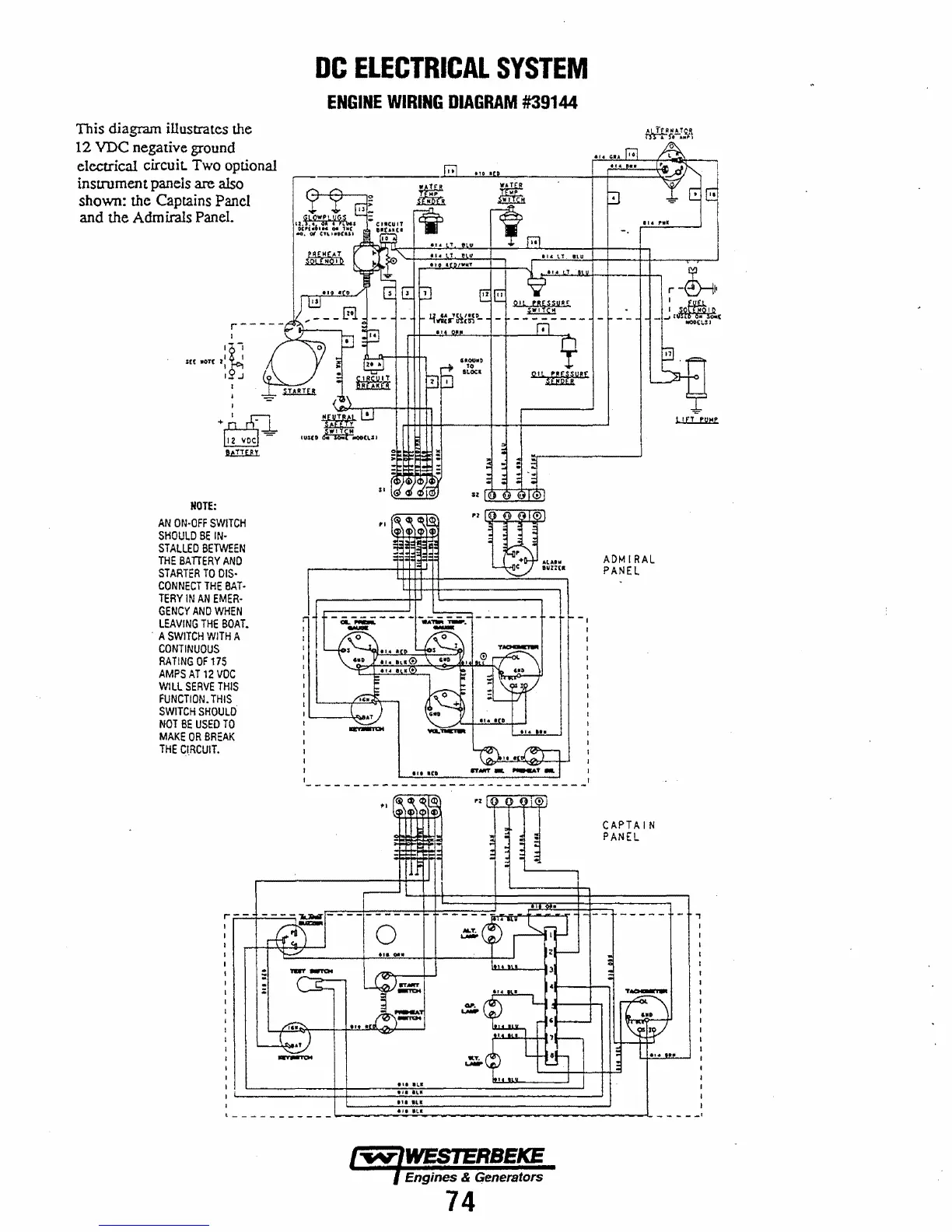
This diagram illustrates the
12
VDC
negative ground
electrical circuit Two optional
instrument panels are also
shown: the Captains Panel
and the Admirals PaneL
I~'
$((
.OTf~:
I
HOTE:
I .J
,
~
+
--L
12
IIDC
-=
ll!.!llI.
AN
ON-OFF
SWITCH
SHOULD
BE
IN-
STALLED
BETWEEN
THE
BA
ITERY
AND
STARTER
TO
DIS·
CONNECT
THE
BAT·
TERY
IN
AN
EMER-
GENCY
AND
WHEN
LEAVING
THE
BOAT.
A
SWITCH
WITH
A
CONTINUOUS
RATING
OF
175
AMPS
AT
12
voe
WILL
SERVE
THIS
FUNCTION.
THIS
SWITCH
SHOULD
NOT
BE
USED
TO
MAKE
OR
BREAK
THE
Cl.RCUIT.
r--
DC
ELECTRICAL
SYSTEM
ENGINE
WIRING
DIAGRAM
#39144
IL.
-,
lit
Ie
..
~-----------------------------
I"
lUI:
&I¥;{,!.I:A
I'"
,.1(
ADMIRAL
PANEL
CAPTAIN
PANEL
o
- ,
........
_ ............
______
1,.....
___
--!.:.:.:
..
~.:;cLO~
____________
~
__
~
_
__L
Engines & Generators
74

Table of Contents

Related product manuals