EasyManua.ls Logo

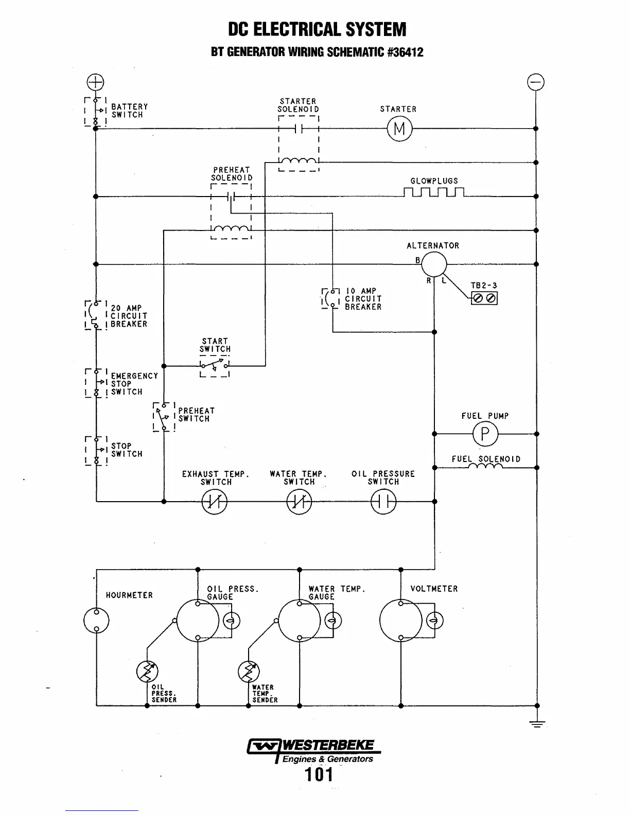
Westerbeke W-27A - DC Electrical System Wiring Diagrams (Continued); BT Generator Wiring Schematic #36412

Westerbeke W-27A
110 pages
Print Icon
To Next Page IconTo Next Page
To Next Page IconTo Next Page
To Previous Page IconTo Previous Page
To Previous Page IconTo Previous Page
Loading...
:
BATTERY
!
SWI
TCH
1
20
AMP
1
CIRCUIT
I
BREAKER
1
EMERGENCY
I
STOP
!SWITCH
1
STOP
r.
I
I
DC
ELECTRICAL
SYSTEM
BT
GENERATOR
WIRING
SCHEMATIC
#36412
PREHEAT
SOLENOID
r -
--I
L...
___
I
START
SWITCH
11
PREHEAT
SWITCH
!
STARTER
SOLENOID
r
---I
L...
___
I
STARTER
.I~(
I
10
AMP
I
CIRCUIT
-
BREAKER
GLOWPLUGS
ALTERNATOR
B
FUEL
PUMP
I
SWITCH
I
FUEL
SOLENOID
HOURMETER
Oil
PRESS.
SENDER
EXHAUST
TEMP.
SWITCH
WATER
TEMP.
SWITCH
OIL
PRESSURE
SWITCH
TEMP.
VOLTMETER
Engines
~
Generators
101

Table of Contents

Related product manuals