EasyManua.ls Logo

Whirlpool 4322452 - Lighting the Oven Pilot

Whirlpool 4322452
88 pages
Print Icon
To Next Page IconTo Next Page
To Next Page IconTo Next Page
To Previous Page IconTo Previous Page
To Previous Page IconTo Previous Page
Loading...
Page 4-5
OFF
N
A
T
L
P
OFF
N
A
T
L
P
Oven
Thermostat
Main Gas Line
Pilot Gas Line
Natural Gas
Setting
Adjustment
Screw
Gas OFF
Setting
L.P. Gas
Setting
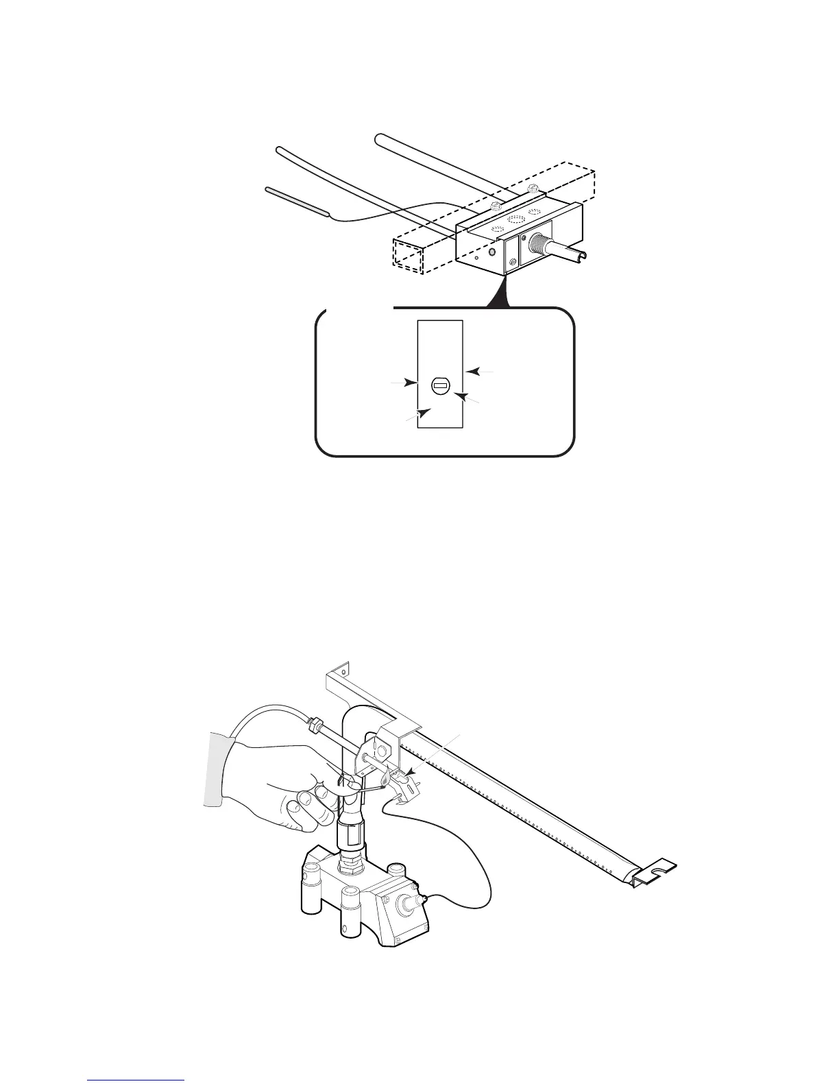
NOTE: The thermostat used in the Standing Pilot range needs to be converted if L.P. gas is being
used. A "Nat" or L.P. setting is located on the front face of the thermostat (see Figure 4-8 and its
inset).
Figure 4-8
Inset
LIGHTING THE OVEN PILOT
To light the pilot, perform the following steps (see Figure 4-9):
1. Turn off all the range controls.
2. If your range is equipped with a broiler drawer, open it and wait five minutes for any gas inside
the range to dissipate.
3. Remove the baffle and oven bottom.
4. Hold a lighted match near the tip of the pilot on the burner assembly until a flame appears.
5. Replace the baffle and oven bottom.
6. Turn on the oven thermostat and allow the burner to light.
Figure 4-9
Safety
Valve
Apply Match Flame
To Gas Outlet Of Pilot

Table of Contents

Related product manuals