EasyManua.ls Logo

Whyte 146 - Page 19

Default Icon
32 pages
Print Icon
To Next Page IconTo Next Page
To Next Page IconTo Next Page
To Previous Page IconTo Previous Page
To Previous Page IconTo Previous Page
Loading...
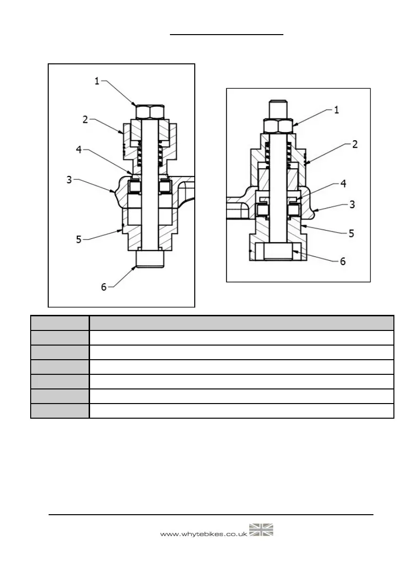
Page 19 2010 Edition 1
WHYTE Service Manual
Item: Description.
1 M8 Nut
2 KP5AX or KP6AX Tool 1
3 Link Body
4 KP5AX or KP6AX Bearing
5 KP5AX or KP6AX Tool 2
6 M8x65mm Socket Head Cap Screw
Fig.11a: KP Bearing Extraction
Fig 11b: KP Bearing Insertion

Related product manuals