EasyManua.ls Logo

Woods BATWING BW12E - Wing Assembly

Woods BATWING BW12E
54 pages
Print Icon
To Next Page IconTo Next Page
To Next Page IconTo Next Page
To Previous Page IconTo Previous Page
To Previous Page IconTo Previous Page
Loading...
40 Parts
MAN1126 (1/9/2015)
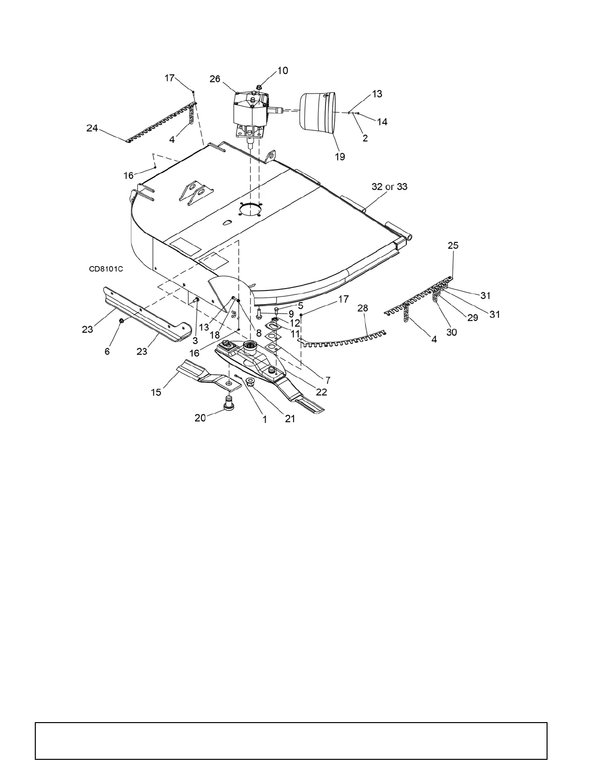
WING ASSEMBLY
REF PART QTY DESCRIPTION
1 1285RP * 1 1/4 x 1-1/2 Cotter pin
2 2472 * 4 5/16 Lock washer ZP
3 2615 * 4 1/2 NC x 1-1/4 Carriage bolt ZP
4 3994 54 5/16 Chain 5 link
5 6100RP * 2 1/2 NC x 1-1/4 HHCS GR5 ZP
6 11900RP * 4 1/2 NC Flanged lock nut
7 13946RP 2 Shim, 20 GA, 1-1/2 blade pin
8 14139RP * 1 5/16 NC Flanged lock nut HD ZP
9 1038890 4 5/8 NC x 2 Hex flanged screw GR8
10 19025RP * 4 5/8 NC Flanged lock nut
11 32603RP 2 Keyhole plate - special
12 32604 2 Blade pin lock clip - special
13 35155RP * 5 5/16 SAE Flat washer ZP
14 39254 4 M8-1.25P x 14mm HHCS CL8.8
15A 57099KT 1 Blade kit 57099 (right wing) -or-
15B 1003490KT 1 Blade kit 1003490 (left wing)
16 70065 * 12 1/4 NC Whiz nut
17 70046 12 .25-20 x .75 Hex/MR Whiz bolt
18 300105 * 1 5/16 NC x 2 HHCS GR5 ZP
19 1002048RP 1 Clutch shield, 100&143 MM BC
20 1009199RP 2 2.04 Pin/blade
21 1018331 * 1 1-14 Slotted flanged nut
22 1037979RP 1 Crossbar wing
23A 1038044RP 1 BW12 Skid shoe, RT
23B 1038045RP 1 BW12 Skid shoe, LT
24 1038108RP 1 Chain lock, wing
25 1038109RP 1 Chain lock, wing front
26A 1038887 1 Gearbox repair 1:1.69 CW (right
wing)
26B 1038888 1 Gearbox repair 1:1.69 CCW (left
wing)
27 10520RP 2 Shim, 18 GA, 1-1/2 blade pin
28 1038932RP 1 Chain lock, wing curved
29 1041054 1 5/16 Chain 3 link
30 4069 1 5/16 Chain 4 link
31 1041055 2 5/16 Chain 2 link
32 603834 1 Right wing with decals
33 603835 1 Left wing with decals
HHCS Hex Head Cap Screw
* Standard hardware, obtain locally
REF PART QTY DESCRIPTION
(Rev. 9/27/2018)

Related product manuals