EasyManua.ls Logo

Woods BATWING BW12E - Gearbox Assembly

Woods BATWING BW12E
54 pages
Print Icon
To Next Page IconTo Next Page
To Next Page IconTo Next Page
To Previous Page IconTo Previous Page
To Previous Page IconTo Previous Page
Loading...
Parts 43
MAN1126 (1/9/2015)
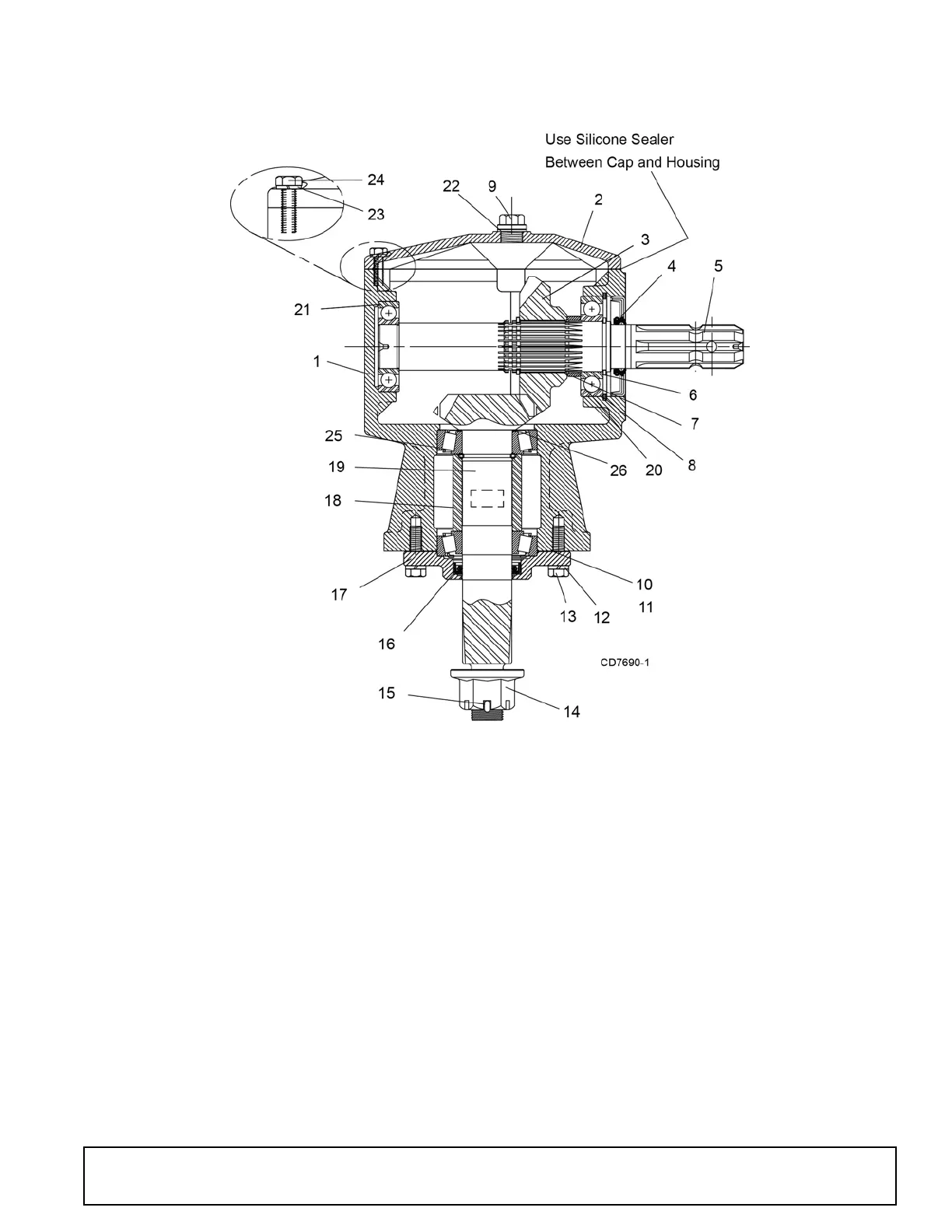
GEARBOX ASSEMBLY
REF PART QTY DESCRIPTION
A 1038887 1 Gearbox repair 1:1.69 CW (Right)
A 1038888 1 Gearbox repair 1:1.69 CCW (Left
and Center)
1 ----- 1 Housing
2 1019632 1 Inspection cover
3 ----- 1 22 Tooth gear
4 1018327RP 1 Input seal
5 ----- 1 Input shaft
6 ----- 1 Retaining ring
7 ----- 1 Gear spacer
8 ----- 1 Retaining ring
9 1011780RP 1 Vent plug and washer
REF PART QTY DESCRIPTION
10 1018329 A/R Output gasket (0.30)
11 1018330 A/R Output gasket (0.13)
12 ----- 4 Lock washer
13 ----- 4 M10 x 1.5 x 25 Cap screw
14 1018331 1 1" - 14 Slotted flange nut
15 ----- 1 Cotter pin
16 1018328RP 1 Output seal
17 ----- 1 Output cap
18 ----- 1 Output bearing spacer
19 ----- 1 Output shaft and pinion
20 1018326RP 3 Ball bearing
21 1018325RP 1 Ball bearing
22 ----- 2 Sealing washer w/plug
23 ----- 6 Lock washer
24 ----- 6 M8 x 1.5 x 25 Cap screw
25 57478 2 Bearing cup and cone
26 1032963 1 Shim Kit
27 ----- 1 Output Bearing Spacer

Related product manuals