EasyManua.ls Logo

Woods MAN0962 - Wing & Center Gearbox Assembly

Woods MAN0962
80 pages
Print Icon
To Next Page IconTo Next Page
To Next Page IconTo Next Page
To Previous Page IconTo Previous Page
To Previous Page IconTo Previous Page
Loading...
58 Parts
MAN0962 (1/9/2012)
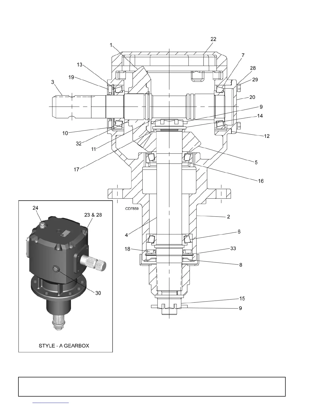
STYLE - A WING & CENTER GEARBOX ASSEMBLY