EasyManua.ls Logo

WORKMASTER GO-A8-PW - Lubricator Components Breakdown; Lubricator Parts List and Diagram

Default Icon
48 pages
Print Icon
To Next Page IconTo Next Page
To Next Page IconTo Next Page
To Previous Page IconTo Previous Page
To Previous Page IconTo Previous Page
Loading...
E - 1
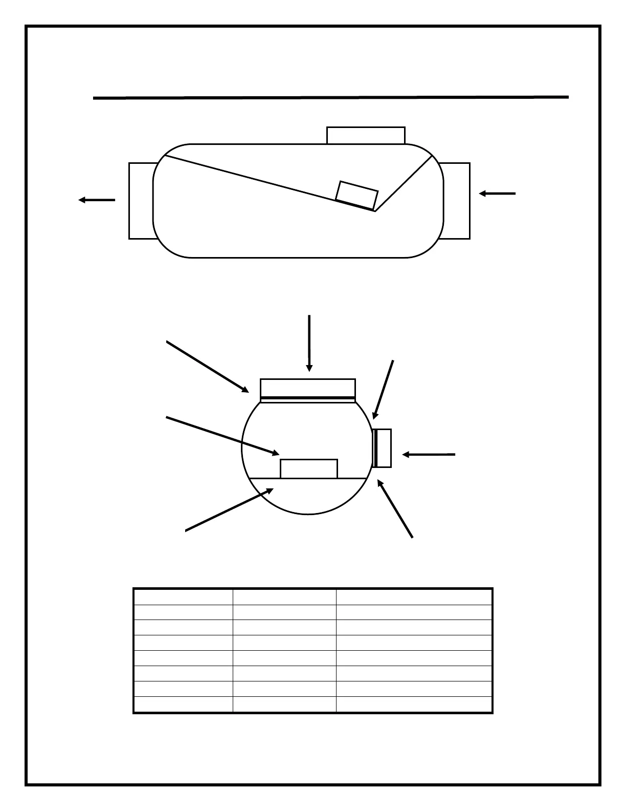
APPENDIX E: LUBRICATOR COMPONENTS
ITEM PART # DESCRIPTION
A 851661 Oil Adjustment Valve
B 844319 Fill Plug O-Ring
C 452525 Fill Plug
D 452532 Sight Disk
E 452533 Sight Disc Lock Nut
F 847272 Sight Disc Seal
G 452531 Valve Gasket
A
G
E
D
C
B
F
AIR IN
A
IR OUT

Other manuals for WORKMASTER GO-A8-PW

Related product manuals